1과목: 가스유체역학
1. 정적비열 Cv는 0.21Kcal/㎏·K, 비열비 k는 1.3인 어떤 기체의 정압비열 Cp는 몇 kcal/㎏·K인가?
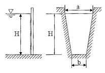
2. 그림과 같이 윗변과 아랫변이 각각 a, b이고 높이가 H인 사다리꼴형 평면 수문이 수로에 수직으로 설치되어 있다. 비중량 γ인 물의 압력에 의해 수문이 받는 전체 힘은?




3. 다음과 같은 베르누이 방정식을 만족하기 위한 가정이 아닌 것은?
4. 내경이 10㎝인 원관이 내경 20㎝로 갑자기 확대되는 경우 0.5m3/s의 유량으로 물이 흐를 때 손실수두는 약 몇 m인가?
5. 벤튜리관에 대한 설명으로 옳지 않은 것은?
6. 비열비 k인 이상기체의 등엔트로피 유동에서 정체온도 T0와 임계온도 T*의 관계식을 옳게 나타낸 것은?




7. 이상기체에서 음속은 온도와 어떠한 관계가 있는가?
8. 유동장 내의 속도(u)와 압력(p)의 시간 변화율을 각각 ∂U/∂t=A, ∂p/∂t=B라고 할 때 다음 중 옳은 것을 모두 고르면?
9. 공기의 기체상수 R 값은 287m2/s2K이다. 온도 40℃, 압력 5㎏f/cm2·abs 에서의 밀도는 몇 ㎏/m3인가?
10. 내경이 300㎜, 길이가 300m인 관을 통하여 평균유속 3m/s로 흐를 때 압력손실수두는 몇 m인가? (단, Darcy-Weisbach 식에서의 관마찰계수는 0.03이다.)(오류 신고가 접수된 문제입니다. 반드시 정답과 해설을 확인하시기 바랍니다.)
11. 펌프작용이 단속적이므로 맥동이 일어나가 쉬워서 이를 완화하기 위하여 공기실을 필요로 하는 펌프는?
12. 덕트 내 압축성 유동에 대한 에너지 방정식과 직접적으로 관련되지 않는 변수는?
13. 절대압력이 4.4㎏f/cm2 이고, 밀도가 3㎏/m3인 공기의 온도는 몇 ℃인가? (단, 공기의 기체상수는 29.4 ㎏f·m/㎏·K이다.)
14. 도플러효과(doppler effect)를 이용한 유량계는?
15. 그림에서 피스톤 A1의 반지름이 A2의 반지름의 4배가 될 때, 힘 F1과 F2의 관계를 옳게 나타낸 것은?
16. 반지름이 R이고 안과 밖의 압력차가 △p인 비눗방울의 표면 장력을 옳게 나타낸 것은?(오류 신고가 접수된 문제입니다. 반드시 정답과 해설을 확인하시기 바랍니다.)
17. 다음 중 대기압을 측정하는 계기는 무엇인가?
18. 파이프 내 점성흐름에서 길이방향으로 속도분포가 변하지 않는 흐름을 가리키는 것은?
19. 왕복펌프의 밸브 설계 시 유의할 점으로 볼 수 없는 것은 무엇인가?
20. 비점성 유체의 정의로 적합한 것은?
2과목: 연소공학
21. 다음 중 연소 부하율에 대하여 옳게 설명한 것은?
22. 반응기 속에 1㎏의 기체가 있고 기체를 반응기 속에 압축시키는데 1500㎏f·m의 일을 하였다. 이때 5kcal의 열량이 용기 밖으로 방출했다면 기체 1㎏당 내부에너지 변화량은 약 몇 Kcal인가?
23. 옥탄(C8H18)이 공기 중에서 연소할 때 공기 과잉율이 높아지면 어떻게 되는가?
24. 가연성기체를 공기와 같은 조연성기체 중에 분출시켜 연소시키므로 불완전연소에 의한 그을음을 형성하기 쉬운 기체의 연소 형태는?
25. 예혼합연소의 특징에 대한 설명으로 옳은 것은?
26. 다음 중 차원이 같은 것 끼리 나열된 것은?
27. 프로판가스 1Nm3 을 연소시켰을 때 건연소 가스량은 약 몇 Nm3인가? (단, 공기비는 1.1이다.)
28. 확산화염의 연소방식에 대한 설명으로 틀린 것은?
29. 가스 폭발의 용어 중 DID의 정의에 대하여 가장 올바르게 나타낸 것은?
30. 가스가 폭발하기 전 발화 또는 착화가 일어날 수 있는 요인으로 가장 거리가 먼 것은?
31. 가연성 가스의 폭발범위에 대한 설명으로 옳지 않은 것은?
32. 가연성가스가 폭발할 위험이 있는 농도에 도달할 우려가 있는 장소를 위험장소라 한다. 밀폐된 용기 또는 설비 내 밀봉된 가연성가스가 그 용기 또는 설비의 사고로 인해 파손되거나 오조작의 경우에만 누출할 위험이 있는 장소는 다음 중 어느 장소에 해당하는가?
33. 어떤 경우에는 실험 데이터가 없어 연소한계를 추산해야 할 필요가 있다. 존스(Johes)는 많은 탄화수소 중기의 연소하한계(LFL)와 연소상한계(UFL)는 연료의 양론농도(Cst)의 함수라는 것을 발견하였다. 다음 중 존스(Johes)연소하한계(LFL) 관계식을 옳게 나타낸 것은?
34. 폭굉(detonation)에 대하여 가장 적절하게 설명한 것은?
35. 가스가 노즐로부터 일정한 압력으로 분출하는 힘을 이용하여 연소에 필요한 공기를 흡인하고, 혼합관 중에서 혼합한 후 화염공에서 분출시켜 예혼합연소시키는 버너는?
36. 1Kg의 기체가 압력 50㎪, 체적 2.5m3의 상태에서 압력 1.2MPa, 체적 0.2m3의 상태로 변화하였다. 이 과정 중에 내부에너지가 일정하다고 할 때 엔탈피의 변화량은 약 몇 kJ인가?
37. 다음 중 연소의 3요소로만 옳게 나열된 것은?
38. 공기비가 적을 경우 연소에 미치는 영향에 대한 설명으로 틀린 것은?
39. 1Kmol의 일산화탄소와 2Kmol의 산소로 충전된 용기가 있다. 연소 전 온도는 298K, 압력은 0.1MPa이고 연소 후 생성물은 냉각되어 1300K로 되었다. 정상상태에서 완전연소가 일어났다고 가정했을 때 열전달량은 몇 kJ인가? (단, 반응물 및 생성물의 총엔탈피는 각각 -110529kJ, -293338kJ이다.)
40. 600℃의 고열원과 300℃의 저열원 사이에 작동하고 있는 카르노 사이클(carnot cycle)의 최대 효율은?
3과목: 가스설비
41. 일정 압력 이하로 내려가면 가스 분출이 정지되는 구조의 안전밸브는?
42. 저온취성을 막기 위하여 사용되는 저온 장치용 재료로서 가장 거리가 먼 것은?
43. 펌프에서 발생할 수 있는 캐비테이션 현상의 발생 조건이 아닌 것은?
44. 도시가스의 누출 시 감지할 수 있도록 첨가하는 냄새가 나는 물질(부취제)에 대한 설명으로 옳은 것은?
45. 염화비닐호스의 안층의 재료는 70℃에서 48시간 공기가열 노화시험을 한 후 인장강도 저하율이 몇 % 이하 이어야 하는가?
46. 도시가스의 유해성분(황전량, 황화수소 및 암모니아)에 대하여 연소가스의 특수성분 분석방법으로 측정하는데 검사주기 및 측정위치로 옳은 것은?
47. 암모니아 취급 및 저장 시 주의사항으로 틀린 것은?
48. 분자량이 큰 탄화수소를 원료로 10000Kcal/Nm3 정도의 고열량 가스를 제조하는 방법은?
49. 증기압축식 냉동 사이클에 해당되지 않는 것은?
50. 양정이 5m, 송출량이 3m3/min일 때 축동력이 10PS이면 원심펌프의 효율은 약 얼마인가?
51. 나프타의 사이크링식 접촉분해법에 사용되는 촉매로 옳은 것은?
52. 산소 용기에 산소 120㎏이 들어있을 때 20℃에서의 절대압력이 125㎏/cm2 이었다면 용기의 내용적은 몇 L인가? (단, 산소의 가스정수는 26.5로 한다.)
53. 액화석유가스용 압력조정기 중 다이어프램의 물성시험에 대한 설명으로 옳은 것은?
54. 액화석유가스(LPG)를 용기 또는 소형저장탱크에 충전 시 기상부는 용기 내용적의 15% 를 확보하도록 하고 있다. 다음 중 그 이유로서 가장 옳은 것은?
55. 내용적이 190L인 초저온 용기에 대하여 단열성능시험을 위해 24시간 방치한 결과 70㎏이 되었다. 이 용기의 단열성능시험 결과를 판정한 것으로 옳은 것은? (단, 외기온도는 25℃, 액화질소의 끓는점은 -196℃, 기화잠열은 48kcal/㎏으로 한다.)
56. LNG의 기화장치에 대한 설명으로 틀린 것은?
57. 가스조정기(Regulator)의 역할에 해당되는 것은?
58. 저온수증기 개질에 의한 SNG(대체천연가스)제조 프로세스의 순서로 옳은 것은?
59. 고압가스의 분출시 정전기가 가장 발생하기 쉬운 경우는?
60. 저온(T2)으로부터 고온(T1)으로 열을 보내는 냉동기의 성능계수는?
4과목: 가스안전관리
61. 고압가스 용기의 내압시험방법 중 팽창측정시험의 경우 용기가 완전히 팽창한 후 적어도 얼마 이상의 시간을 유지하여야 하는가?
62. 차량에 고정된 용기로 염소를 운반할 때 용기의 내용적은 몇 L 이하가 되어야 하는가?
63. 고압가스 설비 내의 압력이 사용압력을 초과할 경우 즉시 이를 상용압력 이하로 되돌릴 수 있는 장치가 아닌 것은?
64. 반밀폐형 강제배기식 가스보일러를 공동배기방식으로 설치하고자 할 때의 기준으로 틀린 것은?
65. 액화석유가스 저장탱크와 다른 저장탱크와의 사이에서 두 저장탱크의 최대 지름을 합산한 길이의 1/4의 길이가 1m 이상인 경우에는 두 저장탱크의 사이에 두 저장탱크의 최대지름을 합산한 길이의 1/4 이상에 해당하는 거리를 유지하여야 하나, 탱크에 무엇을 설치하는 경우 그러하지 아니할 수 있는가?
66. 다음 중 반드시 역화방지장치를 설치하여야 하는 곳은?
67. HCN의 특징에 대한 설명으로 틀린 것은?
68. 운반하는 액화염소의 질량이 500㎏인 경우 갖추지 않아도 되는 보호구는?
69. 내용적이 25000L인 액화산소 저장탱크와 내용적이 3m3인 압축산소 용기가 배관으로 연결된 경우 총 저장능력은 약 몇 m3인가? (단, 액화산소의 비중량은 1.14㎏/L이고, 35℃에서 산소의 최고충전압력은 15MPa이다.)
70. 고압가스 충전용기 등의 적재, 취급, 하역 운반요령에 대한 설명으로 옳은 것은?
71. 자동차에 고정된 탱크로 수요자의 소형저장탱크에 액화 석유가스를 충전할 때의 기준으로 틀린 것은?
72. 액체프로판 10㎏이 기화되어 가스 상태로 되었을 때 프로판 가스의 체적은 표준상태에서 몇 Nm3가 되는가?
73. 하천 또는 수로를 횡단하여 배관을 매설할 경우 다음 중 2중관으로 하여야 하는 가스는?
74. 도시가스시설 공사계획의 승인·신고 사항에 해당하는 것은?
75. 도시가스 배관의 이음부와 전기설비 사이 이격거리의 기준으로 틀린 것은?
76. 독성가스설비를 수리를 할 때 독성가스의 농도를 얼마이하로 하여야 하는가?
77. 도시가스시설의 완성검사 대상에 해당하지 않는 것은?
78. 산소를 용기에 30℃에서 120㎏f/cm2·g까지 충전하였다. 온도가 0℃로 되면 압력은 약 몇 ㎏f/cm2이 되는가?
79. 가스보일러에서 CO가스의 발생원인으로 가장 거리가 먼 것은?
80. 수소가스용기가 보통 사용 상태 하에서 파열사고를 일으켰다. 이 사고의 원인으로 틀린 것은?
5과목: 가스계측기기
81. 선팽창계수가 다른 2종의 금속을 결합시켜 온도 변화에 따라 굽히는 정도가 다른 특성을 이용한 온도계는?
82. 다음 [그림]은 어떤 가스미터인가?
83. 목표치에 따른 자동제어의 분류 중 계 전체의 지연을 적게 하는데 유효하기 때문에 출력측에 낭비시간이나 시간지연이 큰 프로세스제어에 적합한 제어방법은?
84. 다음 제어동작 중 오프셋(Off-set)이 발생하기 때문에 부하변화가 작은 프로세스에 주로 적용되는 동작은?
85. 다음 중 열전도도가 가장 낮은 가스는?
86. 다음 가스분석 방법 중 흡수분석법이 아닌 것은?
87. 격막식 압력계의 겉모양 및 구조에 대한 설명으로 틀린 것은?
88. 다이어프램(Diaphragm) 압력계에 대한 설명으로 틀린 것은?
89. 어떤 비례제어기가 80℃에서 100℃사이에 온도를 조절하는데 사용되고 있다. 이 제어기에서 측정된 온도가 81℃에서 89℃로 될 때 비례대(proportional band)는 얼마인가?
90. 유체의 압력 및 온도 변화에 영향이 적고, 소유량이며 정확한 유량제어가 가능하여 혼합가스 제조 등에 유용한 유량계는?
91. 막식 가스미터의 고장 중 가스미터가 노후, 충격, 부품의 마모 및 외부영향 등으로 계량 정밀도가 저하되는 경우는 무엇인가?
92. 게겔법에서 C3H6를 분석하기 위한 흡수액으로 사용되는 것은?
93. 다음 그림은 가스크로마토그래프의 크로마토그램이다. t, t1, t2는 무엇을 나타내는가?
94. 부르돈관 압력계로 측정한 압력이 5㎏/cm2이었다. 이때 부유피스톤 압력계 추의 무게가 10㎏ 이고, 펌프 실린더의 직경이 8㎝, 피스톤 지름이 4㎝ 라면 피스톤의 무게는 약 몇 ㎏인가?
95. 완만연소분석법에 의한 시료가스 분석 시 사용하는 완만연소피펫에 대한 설명으로 옳은 것은?
96. 가스검지 시험지와 검지가스와의 연결이 바르게 된 것은?
97. 가스미터의 구비조건으로 거리가 먼 것은?
98. 차압식 오리피스 유량계에서 오리피스 전후의 압력차이가 처음보다 4배만큼 커졌을 때 유량은 어떻게 변하는가? (단, 다른 조건은 모두 같으며 Q1, Q2는 각각 처음과 나중의 유량을 나타낸다.)
99. 가스미터는 측정방식에 따라 실축식과 추량식으로 구분된다. 다음 중 추량식이 아닌 것은?
100. 온도계 눈금값의 기준이 되는 정의 정점에 대하여 가장 바르게 나타낸 것은?