1과목: 가스유체역학
1. 기체수송에 사용되는 기계들이 줄 수 있는 압력 차를 크기 순서대로 옳게 나타낸 것은?
2. 진공압력이 0.10kgf/cm2 이고, 온도가 20℃ 인 기체가 계기압력 7kgf/cm2 로 등온압축되었다. 이때 압축 전 체적(V1)에 대한 압축 후의 체적(V2)의 비는 얼마인가? (단, 대기압은 720 mmHg 이다.)
3. 압력 P1에서 체적 V1을 갖는 어떤 액체가 있다. 압력을 P2로 변화시키고 체적이 V2가 될 때, 압력 차이(P2 - P1)를 구하면? (단, 액체의 체적탄성계수는 K로 일정하고, 체적변화는 아주 적다.)




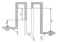
4. 그림과 같이 비중량이 γ1, γ2, γ3인 세 가지의 유체로 채워진 마노미터에서 A 위치와 B 위치의 압력 차이(PB - PA) 는?
5. 왕복펌프의 특징으로 옳지 않은 것은?
6. 비중량이 30kN/m3인 물체가 물속에서 줄(lpoe)에 매달려 있다. 줄의 장력이 4kN이라고 할 때 물속에 있는 이 물체의 체적은 얼마인가?
7. 내경 0.05m 인 강관 속으로 공기가 흐르고 있다. 한쪽 단면에서의 온도는 293K, 압력은 4atm, 평균유속은 75m/s 였다. 이 관의 하부에는 내경 0.08m 의 강관이 접속되어 있는데 이곳의 옫노는 303K, 압력은 2atm 이라고 하면 이곳에서의 평균유속은 몇 m/s 인가? (단, 공기는 이상기체이고 정상유동이라 간주한다.)
8. 그림과 같은 덕트에서의 유동이 아음속 유동일 때 속도 및 압력의 유동방향 변화를 옳게 나타낸 것은?
9. 관 내 유체의 급격한 압력 강하에 따라 수중에서 기포가 분리되는 현상은?
10. 비중 0.9 인 유체를 10ton/h 의 속도로 20m 높이의 저장탱크에 수송한다. 지름이 일정한 관을 사용할 때 펌프가 유체에 가해 준 일은 몇 kgf·m/kg 인가? (단, 마찰손실은 무시한다.)
11. 공기 속을 초음속으로 날아가는 물체의 마하각(Machangle)이 35° 일 때, 그 물체의 속도는 약 몇 m/s 인가? (단, 음속은 340m/s 이다.)
12. 다음 면적이 변하는 도관에서의 흐름에 관한 그림이다. 그림에 대한 설명으로 옳지 않은 것은?
13. 지름 5cm 의 관 속을 15cm/s 로 흐르던 물이 지름 10cm 로 급격히 확대되는 관 속으로 흐른다. 이때 확대에 의한 마찰손실 계수는 얼마인가?
14. 지름이 400mm 인 공업용 강관에 20℃ 의 공기를 264m3/min 로 수송할 때, 길이 200m 에 대한 손실수두는 약 몇 cm 인가? (단, Darcy-Weisbacg 식의 관마찰계수는 0.1 × 10-3 이다.)
15. 다음 중 등엔트로피 과정은?
16. 유체의 점성과 관련된 설명 중 잘못된 것은?
17. 단면적이 변화하는 수평 관로에 밀도가 ρ 인 이상유체가 흐르고 있다. 단면적이 A1 인 곳에서의 압력은 P1, 단면적이 A2 이 곳에서의 압력은 P2 이다.
이면 단면적이 A2 인 곳에서의 평균 유속은?




18. 전단응력(shear stress)과 속도구배와의 관계를 나타낸 다음 그림에서 빙햄플라스틱유체(Bingham plastic fluid)를 나타낸 것은?
19. 완전발달흐름(fully developed flow)에 대한 내용으로 옳은 것은?
20. 유체를 연속체로 취급할 수 있는 조건은?
2과목: 연소공학
21. 다음 그림은 카르노 사이클(Carmot cycle)의 과정을 도식으로 나타낸 것이다. 열효율 η를 나타내는 식은?




22. 발열량이 21MJ/kg인 무연탄이 7%의 스분을 포함한다면 무연탄의 발열량은 약 몇 MJ/kg 인가?
23. 최소 점화에너지에 대한 설명으로 옳은 것은?
24. 압력 엔탈피 선도에서 등엔트로피 선의 기울기는?
25. 줄·톰슨 효과를 참조하여 교축과정(throttling process)에서 생기는 현상과 관계없는 것은?
26. 비중이 0.75 인 휘발유(C8H18) 1L를 완전 연소시키는데 필요한 이론산소량은 약 몇 L 인가?
27. 1kmol 의 일산화탄소와 2kmol 의 산소로 충전된 용기가 있다. 연소 전 온도는 298K, 압력은 0.1MPa 이고 연소 후 생성물은 냉각되어 1300K 로 되었다. 정상상태에서 완전 연소가 일어났다고 가정했을 때 열전달량은 약 몇 kJ 인가? (단, 반응물 및 생성물의 총엔탈피는 각각 –110529 kJ, -293338 kJ 이다.)
28. 기체가 168kJ의 열을 흡수하면서 동시에 외부로부터 20kJ의 일을 받으면 내부에너지의 변화는 약 몇 kJ 인가?
29. 열화학반응 시 온도변화와 열전도 범위에 비해 속도변화의 전도 범위가 크다는 것을 나타내는 무차원수는?
30. 산소의 기체상수(R) 값은 약 얼마인가?
31. 가연성 가스의 폭발범위에 대한 설명으로 옳지 않은 것은?
32. 압력이 1기압이고 과열도가 10℃ 인 수증기의 엔탈피는 약 몇 kcal/kg 인가? (단, 100℃의 물의 증발 잠열이 539 kcal/kg 이고, 물의 비열은 1 kcal/kg·℃, 수증기의 비열은 0.45 kcal/kg·℃, 기준 상태는 0℃ 와 1atm 으로 한다.)
33. 가스의 비열비(k = Cp / Cv)의 값은?
34. 어떤 고체연료의 조성은 탄소 71%, 산소 10%, 수소 3.8%, 황 3%, 수분 3%, 기타 성분 9.2%로 되어 있다. 이 연료의 고위발열량(kcal/kg)은 얼마인가?
35. 다음 중 대기오염 방지기기로 이용되는 것은?
36. 가스 혼합물을 분석한 결과 N2 70%, CO2 15%, O2 11%, CO 4% 의 체적비를 얻었다. 이 혼합물은 10 kPa, 20℃, 0.2m3 인 초기상태로부터 0.1m3으로 실린더 내에서 가역단열 압축할 때 최종 상태의 온도는 약 몇 K 인가? (단, 이 혼합가스의 정적비열은 0.7157 kJ/kg·K 이다.)
37. 종합적 안전관리 대상자가 실시하는 가스 안전성평가의 기준에서 정량적 위험성 평가기법에 해당하지 않는 것은?
38. 수소(H2)의 기본특성에 대한 설명 중 틀린 것은?
39. 다음 보기에서 설명하는 연소 형태로 가장 적절한 것은?
40. 탄소 1kg을 이론공기량으로 완전 연소시켰을 때 발생되는 연소가스양은 약 몇 Nm3 인가?
3과목: 가스설비
41. 냉동용 특정설비제조시설에서 발생기란 흡수식 냉동설비에 사용하는 발생기에 관계되는 설계온도가 몇 ℃를 넘는 열교환기 및 이들과 유사한 것을 말하는가?
42. 아세틸렌에 대한 설명으로 틀린 것은?
43. 스프링 작동식과 비교한 파일럿식 정압기에 대한 설명으로 틀린 것은?
44. 이음매 없는 용기의 제조법 중 이음매 없는 강과을 재료로 사용하는 제조방식은?
45. 신규 용기의 내압시험 시 전증가량이 100cm3 이었다. 이 용기가 검사에 합격하려면 영구증가량은 몇 cm3 이하이어야 하는가?
46. 다음 금속재료에 대한 설명으로 틀린 것은?
47. 대체천연가스(SNG) 공정에 대한 설명으로 틀린 것은?
48. 부식방지 방법에 대한 설명으로 틀린 것은?
49. 압력용기라 함은 그 내용물이 액화가스인 경우 35℃에서의 압력 또는 설계압력이 얼마 이상인 용기를 말하는가?
50. 냄새가 나는 물질(부취제)에 대한 설명으로 틀린 것은?
51. 펌프에서 송출압력과 송출유량 사이에 주기적이 변동이 일어나는 현상을 무엇이라 하는가?
52. 다음 중 가스 액화사이클이 아닌 것은?
53. 35℃에서 최고 충전압력이 15MPa로 충전된 산소용기의 안전밸브가 작동하기 시작하였다면 이때 산소용기 내의 온도는 약 몇 ℃ 인가?
54. 중간매체 방식의 LNG 기화장치에서 중간 열매체로 사용되는 것은?
55. 고압가스 설비의 두께는 상용압력의 몇 배 이상의 압력에서 항복을 일으키지 않아야 하는가?
56. 다음 보기에서 설명하는 안전밸브의 종류는?
57. 고온 고압에서 수소가스 설비에 탄소강을 사용하면 수소취성을 일으키게 되므로 이것을 방지하기 위하여 첨가하는 금속 원소로 적당하지 않은 것은?
58. 고압식 액화산소 분리장치의 제조과정에 대한 설명으로 옳은 것은?
59. 펌프의 양수량이 2m3/min 이고 배관에서의 전 손실수두가 5m인 펌프로 20m 위로 양수하고자 할 때 펌프의 축동력은 약 몇 kW 인가? (단, 펌프의 효율은 0.87 이다.)
60. 고압가스저장시설에서 가연성 가스설비를 수리할 때 가스설비 내를 대기압 이하까지 가스치환을 생략하여도 무방한 경우는?
4과목: 가스안전관리
61. 저장탱크에 의한 액화석유가스사용시설에서 배관설비 신축흡수조치 기준에 대한 설명으로 틀린 것은?
62. 부취제 혼합설비의 이입작업 안전기준에 대한 설명으로 틀린 것은?
63. 고압가스 특정제조시설에서 플레어스택의 설치위치 및 높이는 플레어스택 바로 밑의 지표면에 미치는 복사열이 몇 kcal/m2·h 이하로 되도록 하여야 하는가?
64. 저장탱크에 액화석유가스를 충전하려면 정전기를 제거한 후 저장탱크 내용적의 몇 %를 넘지 않도록 충전하여야 하는가?
65. 2개 이상의 탱크를 동일 차량에 고정할 때의 기준으로 틀린 것은?
66. 지하에 설치하는 액화석유가스 저장탱크실재료의 규격으로 옳은 것은?
67. 독성가스 배관을 2중관으로 하여야 하는 독성가스가 아닌 것은?
68. 고압가스용기의 보관장소에 용기를 보관할 경우의 준수할 사항 중 틀린 것은?
69. 다음 중 특정설비가 아닌 것은?
70. 압축가스의 저장탱크 및 용기 저장능력의 산정식을 옳게 나타낸 것은? (단, Q : 설비의 저장능력[m3], P : 35℃에서의 최고충전압력[MPa], V1 : 설비의 내용적[m3] 이다.)

71. 액화석유가스에 첨가하는 냄새가 나는 물질의 측정방법이 아닌 것은?
72. 산소, 아세틸렌 및 수소가스를 제조할 경우의 품질검사 방법으로 옳지 않은 것은?
73. 고압가스 운반차량에 대한 설명으로 틀린 것은?
74. 동절기에 습도가 낮은 날 아세티렌 용기밸브를 급히 개방할 경우 발생할 가능성이 가장 높은 것은?
75. 일반도시가스사업자 시설의 정압기에 설치되는 안전밸브 분출부의 크기 기준으로 옳은 것은?
76. 가연성 가스를 운반하는 차량의 고정된 탱크에 적재하여 운반하는 경우 비치하여야 하는 분말 소화제는?
77. 장치 운전 중 고압반응기의 플랜지부에서 가연성 가스가 누출되기 시작했을 때 취해야 할 일반적인 대책으로 가장 적절하지 않은 것은?
78. 다음 중 1종 보호시설이 아닌 것은?
79. 폭발에 대한 설명으로 옳은 것은?
80. 내용적 40L의 고압용기에 0℃, 100기압의 산소가 충전되어 있다. 이 가스 4kg을 사용하였다면 전압력은 약 몇 기압(atm)이 되겠는가?
5과목: 가스계측기기
81. 가스크로마토그램 분석결과 노르말헵탄의 피크높이가 12.0cm, 반높이선 나비가 0.48cm 이고 벤젠의 피크높이가 9.0cm, 반높이선 나비가 0.62cm 였다면 노르말헵탄의 농도는 얼마인가?
82. 온도 25℃ 습공기의 노점온도가 19℃일 때 공기의 상대습도는? (단, 포화 증기압 및 수증기 분압은 각각 23.76mmHg, 16.47mmHg 이다.)
83. 헴펠식 분석법에서 흡수, 분리되는 성분이 아닌 것은?
84. 가스미터의 필요 구비조건이 아닌 것은?
85. 피스톤형 압력계 중 분동식 압력계에 사용되는 다음 액체 중 약 3000kg/cm2 이상의 고압측정에 사용되는 것은?
86. 연소식 O2 계에서 산소측정용 촉매로 주로 사용되는 것은?
87. 가스미터의 종류별 특징을 연결한 것 중 옳지 않은 것은?
88. 가스의 폭발 등 급속한 압력변화를 측정하거나 엔진의 지시계로 사용하는 압력계는?
89. 다음 중 기본단위는?
90. 가스의 화학반응을 이용한 분석계는?
91. 가스크로마토그램에서 A, B 두 성분의 보유시간은 각각 1분 50초와 2분 20초이고 피이크 폭은 다 같이 30초 였다. 이 경우 분리도는 얼마인가?
92. 막식 가스미터의 선정 시 고려해야 할 사항으로 가장 거리가 먼 것은?
93. 오프셋(잔류편차)이 있는 제어는?
94. 고온, 고압의 액체나 고점도의 부식성액체 저장탱크에 가장 적합한 간접식 액면계는?
95. 실온 22℃, 습도 45%, 기압 765mmHg 인 공기의 증기 분압(Pw)은 약 몇 mmHg 인가? (단, 공기의 가스 상수는 29.27 kg·m/kg·K, 22℃에서 포화 압력(Ps)은 18.66 mmHg 이다.)
96. 응답이 목표값에 처음오로 도달하는데 걸리는 시간을 나타내는 것은?
97. 일반적인 열전대 온도계의 종류가 아닌 것은?
98. 열전대 온도계의 작동 원리는?
99. 제어계의 과도응답에 대한 설명으로 가장 옳은 것은?
100. 적외선 가스분석기의 특징에 대한 설명으로 틀린 것은?