1과목: 측지학 및 위성측위시스템
1. 다음 설명 중 옳지 않는 것은?
2. 측지원점(Geodetic Datum)을 설정하기 위해서는 타원체의 적도반경, 편평률, 그리고 타원체의 단축과 회전축이 평행하다는 세가지 조건외에 다른 조건이 더 필요하다. 이에 해당되지 않는 것은?
3. 지구자기의 변화에 해당되지 않는 것은?
4. 지구 내부의 온도에 대한 설명 중 옳지 않은 것은?
5. 지구반경 R=6,400km 라 하고 거리의 허용오차가 1/105 이라면 반경 몇 km까지를 평면으로 볼 수 있는가?
6. 인공위성을 이용한 범지구적 위치결정 시스템으로 NNSS과 교체되는 항행시스템은?
7. 다음 사항에서 측지학의 정의로 가장 알맞는 것은?
8. 중력은 관측점 사이의 고도차가 중력에 영향을 미칠 경우 보정을 해야 한다. 이 때 관측점 사이에 존재하는 물질의 인력에 의한 영향을 고려하는 보정을 무엇이라 하는가?
9. 지자기에 관한 다음 설명중 틀린 것은?
10. 해상위치결정에 대한 설명 중 맞지 않는 것은?
11. 메르카토르 투영에서 항정선은 어떤 형태인가?
12. 위성측량에서 인공위성의 운동은 케플러의 몇 번째 법칙에 의해 고도와 주기의 관계를 나타낼 수 있는가?
13. 측지선에 대한 설명으로 알맞은 것은?
14. 다음에서 설명하는 내용 중 옳지 못한 것은?
15. 어떤 관측지점과 지구의 양극을 지나는 대원을 무엇이라 하는가?
16. 다음 설명 중 잘못된 것은?
17. 다음은 항정선에 대한 설명이다. 틀린 것은?
18. 평탄한 표고 700.0m인 지역에 설치한 기선의 측정치가 800.0m 이었다. 이 기선의 평균해면상 거리는 얼마인가? (단, 지구의 반지름은 6370.0km로 가정)
19. 지자기의 3 요소가 아닌 것은?
20. 구면삼각형에 대한 내용으로 옳지 않은 것은?
2과목: 응용측량
21. 경관측량에서 경관 구성요소에 의한 분류가 아닌 것은?
22. 노선측량 작업에서 도상에 중심선을 설치하는 공정은 다음 중 어느 단계에 해당되는가?
23. 하천 측량의 작업을 분류하면 3가지를 들 수 있다. 다음 사항 중에서 해당되지 않는 것은 어느 것인가?
24. 가로가 20m, 세로가 15m인 사각형의 면적계산에서 상대 오차를 1/1000이내로 하기 위해서 각 변장의 제한오차는 얼마인가? (단, 변장의 측정정밀도는 동일함)
25. 경관측량시 시설물의 1점을 시준할 때 시준선과 시설물 축선이 이루는 각(α )이 10° < α ≤ 30° 일 때 얻어지는 경관은?
26. 곡선에서 현의 길이가 100m, 이 현의 길이에 대한 중심각을 θ, 반지름을 R이라 할 때, θ가 1° 인 곡선의 반지름은?
27. 그림과 같은 단면의 면적은 얼마인가?
28. 고속도로에 일반적으로 많이 쓰이는 완화곡선은?
29. 그림과 같은 토지분할에서 면적비 n:m가 1:1이 되려면 AD의 길이는 얼마인가? (단, a=27.2m, AB=52m, AC=46m)
30. 제방, 교량, 배수 등 주로 치수(治水)목적에 이용되는 수위는 어느 것인가?
31. 클로소이드 곡선설치 방법에 있어서 중간점 설치방법이 아닌 것은?
32. 다음 설명 중 옳지 않은 것은?
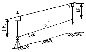
33. 다음과 같은 터널(Tunnel)측량에서 A, B 두점간의 고도차는 얼마인가? (단, I.H.= 2.45m, H.P.= 3.10m, A,B의 경사거리= 58.40m, 경사각 α= 5°30'이다.)
34. 노선 측량의 단곡선 설치에서 곡선의 반지름 R=600m, 교각 I=32° 15'일 때 이 곡선상에 설치할 해야 할 20m 간격의 말뚝 수는? (단, 시단현의 길이는 15m이다)
35. 노선 선정에서 지형상 접선장의 길이가 25m이고, 교각이 42° 20′ 일 때 반지름 R 은?
36. 하천의 유속측정에 있어서 수면에서부터 0.2, 0.6, 0.8의 깊이에서 지점의 유속이 0.562m/s, 0.497m/s, 0.364m/s 였다. 이때 평균유속은 다음 중 어느 것인가?
37. 직선구간의 도로설계를 위한 종횡단측량을 통하여 얻은 두 측점에서의 절토단면적 및 성토단면적이 주어진 표와 같다고 할 때 이 구간의 절토량과 성토량을 순서대로 맞게 열거한 것은?
38. 하천의 수면구배를 정하기 위해 100m 의 간격으로 동시에 수위를 측정하여 다음 결과를 얻었다. 이 결과로부터 구한 이 구간의 평균 수면구배는?
39. 강 건너에 있는 굴뚝의 높이를 알고자 다음과 같은 측량결과를 얻었다. ∠ABC=45°, ∠BAC=70°, ∠CBD=26°, =70m 이다. 굴뚝의 높이()는 얼마인가?
40. 파라미터(A) = 60.00의 클로소이드 곡선상에서 클로소이드 시점에서 곡선의 길이 40m인 점의 곡선 반지름은?
3과목: 사진측량 및 원격탐사
41. 평지를 축척 1/20,000로써 촬영한 연직사진이 있다. 이 사진을 C-계수가 1,800인 도화기로 도화할 수 있는 최소 등고선간격이 2m이었다면 기선고도비(基線高度比)는? (단, 화면의 크기는 23cm× 23cm, 횡중복도 30%, 종중복도 60%이다.)
42. 사진측량에서 모델(model)을 가장 잘 설명한 것은?
43. 항공사진 촬영작업조건 중 틀린 것은?
44. 다음 중 해석적 항공삼각 측량법이 아닌 것은?
45. 사진상의 주점이나 표정점 등 제점의 위치를 인접한 사진상에 옮기는 작업을 무엇이라고 하는가?
46. DTM(Digital Terrain Model)방식 중 사각형으로 지형점을 추출하는 방식으로 지형이 넓을 때 가장 많이 이용되는 것은?
47. 실제 길이가 90m 인 교량이 항공사진 상에 3mm 로 나타났다. 항공사진은 거의수직사진(near vertical photograph)이며 화면의 크기는 23cm× 23cm 이고 초점거리가 150mm인 광각카메라로써 찍힌 것이다. 이 사진 한장이 포괄하고 있는 토지의 면적은?
48. 다음 탐측기 중 수동적 탐측기(Passive Sensor)는?
49. 초점거리 15cm인 광각사진기로 촬영고도 3,000m에서 180km/h의 운항속도로 항공사진을 촬영할 때 사진 노출점간의 최소소요시간은 얼마인가? (단, 사진기의 크기 23cm× 23cm이고, 종중복도는 60%이다.)
50. 색조(tone), 크기(size), 형태(shape), 음영(shadow), 질감(texture) 및 모형(pattern)에 의하여 사진을 정성(定性) 분석을 하는 작업은?
51. 대공표지에 대한 설명 중 옳지 않은 것은?
52. 사진의 중심점을 찾으려면 다음 어느 것을 이용하는가?
53. 보통각 항공카메라의 사용목적으로 가장 적절한 것은?
54. 다음 사진지도에 대한 설명 중 틀린 것은?
55. 항공사진의 특수 3점이 아닌 것은?
56. 대지표정에 필요한 최소 기준점의 수는?
57. 입체상의 변화를 설명한 것 중 옳지 않은 것은?
58. 기계적 상호표정시 왼쪽사진인자(k1, φ1, ω1, by1, bz1)만을 사용하고자 한다. 이 때 인자의 사용 순서로 맞는 것은?
59. 축척 1/10,000로 평지를 촬영한 연직사진이 있다. 이 화면의 크기는 23cm×23cm, 종중복도는 60%라 하면 촬영기선길이는 얼마인가?
60. 항공사진측량에서 스트립(Strip)의 설명 중 틀린 것은?
4과목: 지리정보시스템
61. 거리를 측정할 때에 발생하는 오차 중에서 정오차가 아닌 것은?
62. 삼각점 A에 기계를 설치하여 삼각점 B를 시준하여 각 T를 관측하고자 하였으나 장애물로 인해 B로부터 e만큼 떨어진 위치의 점 P를 관측하여 T '=60° 30′ 를 얻었다. 보정한 각T 를 구하시오. (단, S=2km, e=5m, φ =310° 20′ )
63. 지표면에서 강철테이프를 사용하여 거리를 측정할 때의 보정사항이다. 이 중에서 항상 음(-)의 보정량을 갖는 것은 어느 것인가?
64. 스타디아 측량에서 높이(H)를 구하는 공식은? (단, K, C:스타디아 정수, ℓ :협장)




65. 평지에서 8km 떨어진 두 삼각점 사이를 관측하기 위하여 세워야 되는 측표의 최소높이는? (단, 지구의 반경 = 6,370km)
66. 주로 지역내의 지성선 위치 및 그 위의 각점 표고를 실측 도시하여 이것을 기초로 현지에서 지형을 관찰하면서 적당하게 등고선을 삽입하는 방법으로 비교적 소축척 산지에 이용되는 방법은?
67. 삼각측량에 있어서 삼각점의 수평위치는 무엇으로 정하는가?
68. 그림과 같이 수평거리 50m, 앨리데이드 경사 분획이 +7, 측표의 높이 3m, 기계높이 1.5m일 때 B점의 표고는? (단, A점의 표고는 100m이다.)
69. 다음 중 지형 자료에 대한 공간분석 방법의 연결로 옳은 것은?
70. 직육면체인 저수탱크의 용적을 구하고자 한다. 밑변 a, b와 높이 h에 대한 측정결과가 다음와 같을 때 용적오차는 얼마인가?
71. 다음중 수치영상개선(enhancement)방법이 아닌 것은?
72. 노선측량에 있어서 곡선 반경 700m 되는 원곡선 상을 90㎞/h 로 주행하려면 칸트(cant)는 얼마인가? (단, 궤간(b)는 1.472m 임)
73. 지형공간정보체계의 자료처리 흐름에서 자료처리 과정에 포함되지 않는 것은?
74. 항공사진에 관한 표정(Orientation)의 종류가 아닌 것은?
75. 다음 등고선의 성질 중 옳지 않은 것은?
76. 평지에서 A점에 평판을 세우고 B점의 표척(상하간격 3m)을 보통 앨리데이드로 시준하여 상 6.5, 하 2.5의 눈금을 읽었다. A, B 사이의 거리는 얼마인가?
77. 다음 중 UTM 좌표계에 관하여 잘못 설명한 것은?
78. 축척 1:5,000 국가기본도상에서 그림과 같이 주곡선상의 두점 A,B 사이의 도상거리가 2cm인 경우 이 두점사이의 실제경사는?
79. 다음 기고식 야장에서 측점 4의 지반고는 얼마인가?
80. 평판측량에서 축척 1/1,000의 도면을 작성할 때 도상의 점위치의 허용오차를 0.2㎜라 하면 측점의 구심오차 허용 한계는?
5과목: 측량학
81. 기본측량을 위해 타인의 토지 또는 건물의 출입 및 일시 사용에 대한 공무원의 행위중 잘못된 것은?
82. 지물의 변동등으로 인하여 기본측량의 측량성과가 현장과 다르게 되었을 경우 이를 수정할 수 있는 자는?
83. 측량업의 등록취소 처분후 측량업자의 용역수행에 관한 사항으로 틀린 것은?
84. 측량업등록의 결격사유에 해당되지 않는 것은?
85. 다음 중 공공측량으로 지정할 수 있는 일반측량이 아닌 것은?
86. 수치주제도의 보완은 몇 년마다 1회이상 실시하여야 하는가?
87. 측량법에 의한 측량업을 등록한 자가 그 사업을 양도하거나 사망 또는 합병에 따른 승계사유가 발생되었을 경우 몇 일이내에 건설교통부장관에게 신고하여야 하는가?
88. 공공측량(公共測量)의 실시에 기초가 되는 것은?
89. 기본측량과 공공측량을 실시할 경우 측량기준에 관한 내용 중 틀린 것은?
90. 공공측량에 관한 작업규정의 작성권자는?
91. 다음 중 측량협회 임원(회장, 부회장, 이사 및 감사)의 임기를 규정하는 것은?
92. 측량기기의 검사에 관한 사항으로 틀린 것은?
93. 측량심의회의 심의사항중 틀린 것은?
94. 측량법의 용어 중 발주자의 정의(定義)로 옳은 것은?
95. 측량업자의 벌칙 중 1년 이하의 징역 또는 300만원 이하의 벌금에 처할 수 있는 내용은?
96. 건설교통부장관이 실시하여야 할 새로운 측량기술의 연구개발 및 도입 등에 필요한 시책이 아닌 것은?
97. 다음 중 기본측량의 측량성과 고시 사항에 해당되지 않는 것은?
98. 손실 보상에 대한 관할토지 수용위원회의 재결에 대하여 불복이 있는자는 재결서 정본의 송달을 받은날로부터 몇개월 이내에 중앙토지 수용위원회에 이의를 신청할 수 있는가?
99. 지도의 외도곽에 표시하는 사항이 아닌 것은?
100. 기본측량을 위하여 설치한 측량표의 관리자는?
지구는 지심을 중심으로 한 불규칙한 형태를 가진 지구체이기 때문에, 측량의 정확도에 따라 구로 생각할 수 있다는 것은 부정확한 설명입니다. 따라서, 지구상의 위치는 지리학적 경ㆍ위도 및 준거타원체상으로부터의 높이로 표시됩니다. 이는 지구의 형태를 고려하여 정확한 위치를 표시하기 위한 방법입니다.