1과목: 임의구분
1. 급탕 설비 중 저장 탱크에 서머스탯을 장치한 가장 주된 이유는?
2. 자동제어기기 설치 시공에 대한 설명 중 틀린 것은?
3. 전기용접에서 감전의 방지대책으로 잘못된 것은?
4. 다음 중 장갑을 착용하고 작업하면 안 되는 작업은?
5. 제어요소 중 입력 변화와 동시에 출력이 시간지연 없이 목표치에 동시에 변화하며, 시간지연이 없다는 의미에서 0차 요소라고도 하는 것은?
6. 추치제어에 관한 설명으로 잘못된 것은?
7. 고압가스 배관시공 시 유의해야 할 사항으로 틀린것은?
8. 안개 모양으로 흘러내리는 미세한 물방울로 공기와 직접 접촉시킴으로써 여과기를 통과할 때 제거되지 않는 먼지, 매연 등을 제거하는 장치는?
9. 위생기구 설치에 대한 일반적인 설명으로 잘못된것은?
10. 시퀀스제어의 접점 회로의 논리적(AND)회로의 논리식이 A∙B = R 일 때 참값표가 틀린 것은?
11. 암모니아 가스의 누설위치를 찾기 위해서는 무엇을 쓰는 것이 가장 좋은가?
12. 배관작업 시 안전 수칙에 대한 설명으로 틀린 것은?
13. 소화설비에 관련된 설명으로 적당하지 않는 것은?
14. 주철관 코킹 작업 시 안전 수칙으로 틀린 것은?
15. 고온고압에 사용되는 화학배관의 부식 종류에 속하지 않는 것은?
16. 관의 산세정 작업에서 수세(水洗)시 사용하는 적합한 물은?
17. 다음 용어에 대한 설명으로 잘못된 것은?
18. 25A용 2개. 20A용 3개, 15A용 2개의 급수전을 사용할 때 급수 주관의 호칭규격을 급수관의 균등표를 이용하여 산출한 것으로 맞는 것은? (단, 동시 사용률은 무시한다.)
19. 기송배관에서 저압송식 또는 진공식일 때, 일반적인 경우 수송물의 수송 가능거리는 몇 m 정도 인가?
20. 화학 세정용 약제에서 알칼리성 약제로 맞는 것은?
2과목: 임의구분
21. 플랜지 시트 종류 중 전면 시트(seat) 플랜지를 사용할 때 사용 가능한 호칭 압력으로 가장 적합한 것은?
22. 연관(鉛管)을 잘못 사용한 곳은?
23. 땅속에 매설된 수도 인입관에 설치하여 건물 안의 급수장치 전체 물의 흐름을 조절하거나 개폐할 때 사용되는 수전으로 맞는 것은?
24. 증기 트랩에서 오픈(open)트랩이라고도 하며, 공기가 거의 배출되지 않으므로 열동식 트랩을 병용하여 사용하는 트랩은 어느 것인가?
25. 글랜드 패킹에 속하지 않는 것은?
26. 다음 중 체크밸브에 속하지 않는 것은?
27. 다음 중 주철관을 사용하기에 부적합 한 것은?
28. 350℃ 이하의 압력배관에 쓰이는 압력배관용 탄소 강관의 기호로 맞는 것은?
29. 일명 팩레스 신축 이음쇠라고도 하며, 관의 신축에 따라 슬리브와 함께 신축하는 것으로, 미끄럼 면에서 유체가 누설되는 것을 방지하는 것은?
30. 배관용 타이타늄(Titanium)관에 관한 설명으로 틀린 것은?
31. 폴리에틸렌관(Polyethylene pipe)의 장점으로 틀린것은?
32. 배관계의 진동이나 수격 작용에 의한 충격 등을 감쇠 또는 완화시키는 것이 주목적인 지지 장치는?
33. 한쪽은 나사 이음용 니플(nipple)과 연결하고 다른 한쪽은 이음쇠의 내부에 관을 삽입하여 용접하는 동관 이음쇠의 형식은?
34. 다음 보온 피복재 중 유기질 피복재가 아닌 것은?
35. 배관접합에 관한 일반적인 설명으로 틀린 것은?
36. 용접기를 설치하기 부적합한 장소는?
37. 칼라 속에 2개의 고무링을 넣고 이음 하는 방식으로 일명 고무 가스켓 이음이라고도 하며, 75 ~ 500㎜의 지름이 작은 석면시멘트관에 사용되는 이음방식인 것은?
38. 경질 염화비닐관을 열간 삽입이음 할 때 삽입길이는 관경(D)의 몇 배 정도가 가장 적당한가?
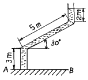
39. 다음 중 융접에 해당되는 용접법은?
40. 아래 그림과 같은 곡관에 물이 채워져 있을 때 밑면 AB에 작용하는 수압(게이지 압)은 몇kPa 인가? (단, 중력가속도는 9.8 m/s2이다.)
3과목: 임의구분
41. 링크형 파이프 커터의 용도로 가장 적합한 것은?
42. 주철관 이음 중 기계식 이음의 특징으로 틀린 것은?
43. 용접작업 시 일반적인 사항을 설명한 것 중 틀린것은?
44. 배관설비의 유량 측정에 일반적으로 응용되는 원리(정리)인 것은?
45. 건포화 증기의 건도 x 는 얼마인가?
46. 굽힘 반경(banding radius)은 파이프 지름의 몇 배이상이 되어야 굴곡에 의한 물의 저항을 무시할 수 있는가?
47. 다음 배관 도시기호 중 게이브밸브를 표시하는 것은?




48. CNC 파이프 밴eld 머신으로 그림과 같이 관을 굽 히고자 한다. 프로그램을 작성하는데 ①점의 X, Y 좌표가 (0,0)일 때 ⑤점의 절대좌표는?
49. 4편의 마이터관(4편 엘보)을 만들려고 한다. 절단각을 구하는 식으로 맞는 것은?
50. 그림과 같은 도면의 지시기호 및 내용에 대한 설명으로 옳은 것은?
51. 그림과 같은 용접기호를 설명한 것으로 옳은 것은?
52. 배관도면을 작성할 때 건물의 바닥면을 기준선으로 하여 배관장치 높이를 표시하는 기호는?
53. 보기와 같은 배관 라인 인덱스에서 관에 흐르는 유체의 종류는?
54. 기계제도 분야에서 가장 많이 사용되는 방법으로 보는 방향에서의 형상과 크기만 나타나고, 다른 부분은 알 수가 없기 때문에 물체 전체를 완전히 표현하려면 두 개 이상의 투상도가 필요한 것은?
55. 축의 완성지름, 철사의 인장강도, 아스피린 순도와 같은 데이터를 관리하는 가장 대표적인 관리도는?
관리도56. 로트의 크기가 시료의 크기에 비해 10배 이상 클때, 시료의 크기와 합격판정개수를 일정하게 하고 로트의 크기를 증가시킬 경우 검사특성곡선의 모양 변화에 대한 설명으로 가장 적절한 것은?
57. 작업시간 측정방법 중 직접측정법은?
58. 준비작업시간 100분, 개당 정미작업시간 15분, 로트 크기 20일 때 1개당 소요작업시간은 얼마인가? (단, 여유시간은 없다고 가정한다.)
59. 소비자가 요구하는 품질로서 설계와 판매정책에 반영되는 품질을 의미하는 것은?
60. 다음 중 샘플링 검사보다 전수검사를 실시하는 것이 유리한 경우는?