1과목: 용접일반
1. 피복아크 용접에서 용착을 가장 옳게 설명한 것은?
2. 청색의 겉불꽃에 싸인 무광의 불꽃이므로 육안으로는 불꽃 조절이 어렵고, 납땜이나 수중 절단의 예열 불꽃으로 사용되는 것은?
3. 내용적 40리터의 산소 용기에 100kgf/㎝2의 산소가 들어 있다면 가변압식 팁 200번으로 중성불꽃을 사용하여 용접할 때, 몇 시간 사용할 수 있는가 ?
4. 알루미늄 납땜재의 융점은 다음 중 몇 ℃정도인가?
5. 플라즈마 아크(Plasma Arc)에 사용되는 가스가 아닌 것은?
6. 아세틸렌 발생기를 사용한 가스용접에서 산소가 아세틸렌호스를 통하여 발생기로 역류하는 것을 막아 아세틸렌 발생기의 폭발을 방지하는 것은?
7. 다음 경납 중 내열 합금용 납땜재인 것은?
8. 프로판 가스용 절단팁의 설명으로 틀린 것은?
9. 다른 교류 용접기에 비해 가포화 리액터형 용접기에 특별하게 부착된 장치는?
10. 용접법의 주된 장점을 잘못 설명한 것은?
11. 피복 아크 용접시 일반적으로 모재에 흡수된 열량은 용접입열의 어느 정도가 보통인가?
12. 피복아크 용접봉의 피복제의 역할을 설명한 것중 맞지 않는 것은?
13. 가스용접에서 백심이 짧아지고 속불꽃이 없어져서 바깥 불꽃만으로 된 불꽃의 명칭은?
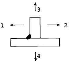
14. 다음 그림과 같이 필릿 용접을 하였을 때, 어느 방향으로 변형이 가장 크게 나타나는가?
15. 압축공기를 이용하여 가우징, 결함부위 제거, 절단 및 구멍 뚫기 등에 널리 사용되는 아크절단 방법은?
16. 판의 두께가 25mm인 탄소강의 노내 풀림법은?
17. 천연의 방사선 동위 원소를 사용하는 검사방법으로, 장치가 간단하고 운반도 용이하며 취급이 간단한 비파괴 검사법은?
18. 용접부의 시험 및 검사의 분류에서 크리프 시험은 무슨 시험에 속하는가?
19. 초음파검사시,강 중의 초음파 속도는 얼마 정도인가?
20. 주로 모재 및 용접부의 연성결함의 유무를 조사하기 위한 시험 방법은?
21. 용접결함 검사에서 γ선투과 검사의 γ선원으로 사용되는 원소는?
22. 아크쏠림의 방지책으로 틀린 것은?
23. 초음파 탐상법 중에서 일반적으로 널리 사용되는 것은?
24. 아크 용접 작업에서 빛을 가리는 가장 큰 이유는?
25. 불활성 가스 텅스텐 아크 용접(TIG Welding)의 극성에서 직류성분을 없애기 위하여 2차 회로에 삽입이 불가능한 것은?
26. 아크 스터드(arc stud)용접의 특징은?
27. 프로젝션 용접에서, 용접 접합부에 나타나는 용융 응고된 금속의 부분을 무엇이라 하는가?
28. 탄산가스 아크 용접의 종류에 해당되지 않는 것은?
29. 용접봉의 피복 배합제 중 탈산제로 쓰이는 가장 적당한 것은?
30. 용접전류는 용접봉의 지름, 종류, 모재두께, 자세, 이음의 종류에 따라 알맞은 전류 선택이 중요하다. 이러한 사항을 무시하고, 용접봉 ø4.0으로 용접을 하고자 할 때 계속적으로 얻을 수 있는 용접전류는 몇 [A] 인가? (단, 전류밀도는 단면적 1mm2 당 10[A]이다.)
31. 무부하 전압이 비교적 높은 교류용접기에 용접 작업자를 전격의 위험으로부터 보호하기 위하여 사용되며, 작업을 하지 않을 때는 전압을 20-30V로 유지되고 용접봉을 작업물에 접촉시키면 릴레이(relay)작동에 의해 전압이 높아져 용접작업이 가능해지는 장치는?
32. 판두께 20mm인 스텐레스강을 220[A] 전류와 2.5kgf/㎝2산소 압력으로 산소아크 절단하고자 할 때, 알맞는 절단속도는?
33. 아크 절단의 종류가 아닌 것은?
34. 용접 작업시 안전 수칙에 관한 내용이다. 다음 중 틀린 것은?
35. 아크용접시 피복 아크용접봉의 사용전류의 종류를 설명한 것이다. 잘못 설명된 것은?
2과목: 용접재료
36. 주철의 용해중 쇳물의 유동성을 감소시키는 원소는?
37. 금속탄화물의 분말형의 금속원소를 프레스로 성형한 다음, 이것을 소결하여 만든 합금으로 절삭 공구에는 물론 다이스 및 내열, 내마멸성이 요구되는 부품에 많이 사용되는 금속은?
38. 켈밋(kelmet)에 대한 설명으로 적당하지 않은 것은?
39. 청동의 성질을 설명한 것이다. 틀린 것은?
40. 분말 야금에 의해서 만들어진 것은?
41. 다음 중 납(Pb)의 비중과 용융온도는 각각 얼마인가?
42. 알루미늄의 성질에 관한 설명으로 틀린 것은?
43. 구리합금 중에서 가장 높은 강도와 경도를 가진 청동은?
44. 질화용 강으로 만들기 위하여 탄소강에 합금 원소를 첨가시키는 데, 질화를 촉진시켜 주기 위해서는 어떤 원소를 첨가시켜 주는가?
45. 기어, 캠, 축 등 표면경화용강의 탄소 함유량은 몇 % 인가?
46. 특수용도 특수강인 Cr13% C 0.2% 이하인 크롬 스텐인레스강의 설명으로 옳은 것은?
47. 지구상에 다량 존재하며, 경금속이고 광석으로는 보오크사이트(Aℓ2O3· 2SiO2· 2H2O)를 사용하여 제련하는 금속 명칭은?
48. 가단주철에 해당되지 않는 것은?
49. 탄소강중 함유된 성분에 대한 각각의 설명으로 옳은 것은?
50. 금속의 공통적 특성이 아닌것은?
3과목: 기계제도
51. 투상법 중에서 정면, 측면, 평면을 하나의 투상도면에서 볼수 없는 것(입체감을 나타내지 못하는 것)은?
52. 보기의 제3각법에 의한 투상도의 입체도로 가장 적합한 것은?




53. 보기 입체도의 화살표 방향의 투상 도면으로 가장 적합한 것은?




54. 광명단 등 도료를 발라 실형을 뜨는 스케치법은?
55. 다음 KS 용접부 비파괴 시험방법 기호 중 방사선 투과시험을 의미하는 것은?
56. 다음과 같은 KS 용접 도시기호의 설명으로 올바른 것은?
57. 도면과 같은 원통을 경사지게 절단한 제품을 제작할 때 어떤 전개법이 가장 적합한가?
58. 그림에서 "10 -φ20 드릴" 의 올바른 해독은?
59. 보기 그림과 같은 형강기호와 치수 표시법이 맞는 것은? (단, t는 두께이고, 길이는 L 임)
60. 3각법으로 투상한 보기의 정면도와 평면도에 가장 적합한 우측면도는?



