1과목: 기초의학 및 의공학
1. 폐활량 산출식으로 옳은 것은?
2. 세포막을 사이에 두고 세포 내부와 외부에 많이 분포하는 이온을 나열한 것으로 옳은 것은?
3. 다음 혈관 중 혈액의 속도가 가장 느린 것은?
4. 신경전달 물질인 아세틸콜린에 대한 설명으로 옳지 않은 것은?
5. 선형가변차동변환기의 설명으로 틀린 것은?
6. 광센서에 적용되는 법칙으로 흡수물질의 두께와 에너지 흡수율의 관계를 설명하는 법칙은?
7. 안구의 구조물 줄 빛의 굴절체가 아닌 것은?
8. 신경세포에 달려 신경 자극을 좋게 하는 가느다란 세포질의 돌기로 신경세포체, 축색돌기와 함께 신경단위의 뉴런을 구성하는 것은?
9. 평행판 모양의 용량성 센서에서 정전 용량을 변화시킬 수 있는 방법이 아닌 것은?
10. 비분극 전극의 동잡음이 적은 이유는?
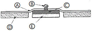
11. 다음 그림은 일회용 금속판 전극의 단면을 나타낸 것이다. 그림에서 Ⓔ 부분에 대한 설명으로 옳은 것은?
12. 의용생체 센서가 갖추어야 할 조건 중 입력의 변화에 대한 출력의 변화가 일정한 비례 관계를 가져야 함을 뜻하는 특성은?
13. 생체신호 측정용 전극에 대한 설명 중 틀린 것은?
14. 골다공증을 의미하는 단어는?
15. 휴지기 전위를 조정하는 메커니즘에 대한 설명 중 옳은 것은?
16. 물질에 어떤 발향으로 압축 또는 인장력을 가했을 때, 전기 분극이 일어나고 대응되는 단면에 분극전하가 나타나는 현상을 무엇이라 하는가?
17. 대장의 일부인 결장(colon)의 4부분에 해당하지 않는 것은?
18. 3대 영양소의 구성으로 옳은 것은?
19. 세포막 사이의 전위차를 측정하는 용도로 사용되는 전극은?
20. 대뇌피질에 있는 수많은 뇌신결세포의 활동 전위를 두피 상에 장착 또는 삽입한 전극을 이용하여 도출하는 것으로, 수십 μN의 진폭을 갖는 미약한 전위는 무엇인가?
2과목: 의용전자공학
21. 생체신호 측정전극으로 사용하는 대표적인 재질은?
22. 생체계측을 위한 기본 구성 중 신호처리에 대한 설명이 아닌 것은?
23. 제어시스템의 설계에 마이크로컨트롤러를 이용할 때의 특징을 모두 고른 것은?
24. LC 발진기로서 가장 널리 사용되는 것은?
25. β=200, re=150Ω인 경우 베이스의 입력 임피던스는?
26. 입출력 장치와 주기억장치 사이의 데이터 전송을 담당하는 입출력 전담 장치는?
27. 전원회로의 기본 구성으로 가장 거리가 먼 것은?
28. 두 개의 점전하 사이에 작용하는 힘의 크기는 두 점전하의 곱에 비례하며, 두 점전하 사이의 거리의 제곱에 반비례 한다는 것은 어떤 법칙인가?
29. 생체현상의 특수성에 대한 설명으로 옳지 않은 것은?
30. 다음 회로에서 Vm의 파형으로 맞는 것은?




31. 정류기(rectifier)에 대한 설명으로 옳은 것은?
32. 아주 큰 전류를 흘릴 수 있는 FET는?
33. 호흡기의 기능평가법에서 평가기능이 아닌 것은?
34. 혈류 측정에 있어 광원으로부터 빛이 모세혈관을 통과, 투과하거나 뼈에서 반사되는 빛을 감지하는 계측방법으로 심장박동의 측정이 가능한 방법은?
35. JK 플립플롭에서 J단자에 0, K단자에 1이 입력되었을 때 출력 단자의 상태를 옳게 짝지은 것은?




36. 평행판 콘덴서의 극판에 유전체(비유전율>1)를 넣었을 때 일어나는 현상은?
37. KFET의 규격표에서 Ioss=7mA이고 V98(off)=-3V이다. 게이트-소스간 전압이 -1V일 때 드레인 전류 mA는?
38. 정류기에 보편적으로 사용하는 캐피시터 필터에서 리플 부분의 직진성을 높이는 방법은?
39. 생체전기신호에 해당되지 않는 것은?
40. 다음 게이트 회로의 출력과 같은 회로는?




3과목: 의료안전ㆍ법규 및 정보
41. 진단용 방사선 발생장치에 해당하지 않는 것은?
42. 다음 중 의료가스의 용도가 다른 것은?
43. 의료기기 품목 및 품목별 등급에 관한 규정 중 의료용 흡입기 분류에 속하지 않는 것은?
44. 의료기기의 기준규격, 추적관리대상 의료기기에 관한 사항을 조사ㆍ심의하기 위하여 설치하는 위원회는?
45. 의료정보학의 역사에 대한 설명으로 옳지 않은 것은?
46. ICPC 분류체계에 대한 설명으로 옳지 않은 것은?
47. 혈압 검사 또는 맥파 검사용 기기의 품목 중 등급이 다른 것은?
48. 다음 ()안에 알맞은 것은?
49. 의료기기의 생물학적 안전에 관한 공통기호 규격에서 인체에 삽입되는 의료기기로써 조직에 접촉하여 접촉시간이 24시간 미만인 제품에 대한 시험항목이 아닌 것은?
50. 다음은 PACS에 대한 설명이다. 잘못 연결된 것은?
51. 자료보호 측면에서 물리적으로 파일을 보호하기 위해 필요한 예방책에 속하지 않는 것은?
52. 혈액전염병 및 뇌막염의진단, 치료, 조언 시스템을 위해 만들어진 의료 전문가 시스템 응용분야의 명칭은?
53. 원격의료의 장점이 아닌 것은?
54. 환자의 과거, 현재의 건강과 진료를 포함하여 생활력과 건강력의 적합한 사실을 장기적으로 모아 전자적인 건강정보로서 기록한 개념을 무엇이라고 하는가?
55. 추적관리대상 의료기기 중 인체 안에 1년 이상 삽입되는 의료기기로 지정된 대상이 아닌 것은?
56. 의료기기의 일부로서 정상동작 시 환자와 접촉되는 부분을 무엇이라고 하는가?
57. 의료기관만으로 바르게 구성된 것은?
58. 매크로 쇼크에 대한 안전대책으로 의료기기의 금속제외함 등 노출 도전성 부분에 시설하는 접지방식은?
59. 전자파에 대한 설명 중 틀린 것은?
60. 의료법령상 의료기관의 관리자가 진료에 관한 기록 중 환자명부를 보존해야 하는 기간은?
4과목: 의료기기
61. 방광 삽입형으로 사용되는 카테터의 명칭으로 맞는 것은?
62. 정상 심전도의 파형 중에서 심실의 탈분극에 해당하는 것은?
63. 레이저 의료기기의 최대 허용 노광량을 산정하는 기준이 아닌 것은?
64. 동맥혈관에 혈맥의 흐름이 멈출 때까지 압박대에 공기압력을 가한 후 압박대의 압력을 서서히 줄이면서 압박대(Cuff)내 압력의 진동을 측정하여 혈압을 측정하는 방법은?
65. 유리 기구, 도자기 기구 등의 멸균에 사용하며, 150~160℃에서 30~60분간 가열하여 멸균하는 방식은?
66. 인공심폐기의 구성요소가 아닌 것은?
67. 페이스메이커에 대한 설명으로 틀린 것은?
68. 임시형 페이스메이커를 사용한 응급처치의 설명으로 틀린 것은?
69. 세동제거기에 있는 16μF의 커패시터에 5000V가 충전되어 있을 때 저장된 에너지는?
70. 초음파 영상 촬영 방식 중 단면 영상을 보여주는 것은?
71. 제세동기는 위험한 부정맥을 치료하는 방법 중의 하나이다. 제세동에 관한 설명 중 틀린 것은?
72. 혈압 측정 방법 중 직접 동맥혈압을 측정하기 위해 카테터를 가장 많이 이용하는 동맥으로 옳은 것은?
73. 엑스선 촬영에 사용되는 엑스선 발생장치와 관계가 없는 것은?
74. 마취기 시스템의 구성요소가 아닌 것은?
75. X-선이 인체 조직을 통과하면서 조직의 물리적인 특성에 의해 X-선 감쇄 특성이 달라지는 특성을 이용하여 회전주사와 선형주사로 영상을 재구성하는 의료영상기기는?
76. 전기수술기에 대한 설명으로 틀린 것은?
77. 레이저의 특성으로 옳은 것은?
78. CR(COmputed Radiograbhy)과 DR(DigitaI RAdiography)에 대한 설명 중 틀린 것은?
79. 표준전극법(Lead Ⅰ, Ⅱ, Ⅲ)으로 심전도를 측정할 때 전극을 부착하지 않는 부위는?
80. 환자가 자연스런 호흡을 하면서 인공호흡기가 정해진 1회 호흡량을 정해진 횟수에 따라 전달하는 방식으로 환자의 자발적인 호흡사이에 치료자가 설정한 강제적환기를 삽입하는 형태의 호흡조절방식은?
5과목: 의용기계공학
81. 인체의 구조적 결함이나 기능이 상실 및 저하된 곳을 인위적인 기구나 장치를 통하여 기능회복, 직ㆍ간접적인 치유, 악화를 방지해주는 장치는?
82. 피치가 10mm인 2줄 나사의 리드는?
83. 고분자 생체재료의 기계적 생체적합성으로 고려해야 할 성질이 아닌 것은?
84. 혈액백(bag)이나 수액백(bag)을 만들 때 사용되어지나 인체유해성의 문제가 제기되는 고분자는?
85. 하지의지의 종류가 아닌 것은?
86. 생체 조직의 도전율에 관한 설명으로 옳지 않은 것은?
87. 생체의 심부 가온에 이용되지 않는 에너지는?
88. 인공 뼈로 가장 많이 활용되는 세라믹스 재료는?
89. 베어링의 마찰상태에서 완전윤활마찰을 설명한 것은?
90. 기어의 피치원 지름을 D, 기어의 잇수를 Z라 할 때 모듈은?
91. 각 관절을 둘러싸고 있는 형태에 따라 분류한 상지보조기가 아닌 것은?
92. 4kN의 하중을 받는 폭 800m, 두께 10mm인 강판에 허용 전단응력이 20N/mm2이고 지름이 10mm인 리벳을 이용하여 1줄 겹치기 리벳이음을 하려고 한다. 리벳의 허용 전단 응력을 고려할 때 최소 필요한 리벳의 수는 얼마인가?
93. 나사의 유효지름이 d, 리드가 L, 리드각이 a일 때 옳은 것은?




94. 일반적으로 방사선의 생물학적인 효과와 관련이 없는 요인은?
95. 생체조직과 생체재료가 접촉하면 주변의 단백질은 형상변화, 부착 또는 이탈과 같은 생리 화학적 반응을 유발하고, 세포끼리는 생리 화학적 신호를 교환하게 된다. 그 결과 나타나는 현상이 아닌 것은?
96. 탄성재료에서 합중부가와 하중제거 경로로 둘러싸인 면적을 측정하게 되면 변형 및 회복과정에서 열로 방산되는 에너지를 계산할 수 있다. 이를 무엇이라고 하는가?
97. 생체재료에 대하여 인장시험을 실시하고자 할 때, 인장시험기에 부착된 장치 중에서 하중을 측정할 수 있는 것은?
98. 정형외과용 인공고관절을 사람에게 시술하려 한다. 인체내에서 임플란트가 거부반응을 나타내지 않기 위해서 필요한 특성은?
99. 초음파의 전파속도가 빠른 것부터 순서대로 나열된 것은? (단, 공기는 0℃, 1기압 기준)
100. 초음파의 생리적 효과가 아닌 것은?
이유는 다음과 같다.
- 일호흡량: 한 번의 호흡으로 들이마시는 공기의 양을 말한다.
- 예비흡기량: 폐에 남아있는 공기 중에서 호흡이 끝난 후에도 남아있는 공기의 양을 말한다.
- 예비호기량: 폐에서 완전히 내쉬지 않는 공기의 양을 말한다.
따라서, 폐활량은 일호흡량에 예비흡기량과 예비호기량을 더한 값이다. 이는 폐에서 들이마신 공기와 함께 남아있는 공기의 양을 모두 고려한 것이다.