1과목: 전기응용 및 공사재료
1. 다음 문자중 내열용 비닐 절연 전선은?
2. 150[W]가스입 전구를 반경 20[cm], 투과율 80[%]인 구의 내부에서 점등 시켰을 때 구의 평균 휘도를 구하시오. (단, 구의 반사는 무시하고 전구의 광속은 2450[lm]이라 한다.)
3. 90X90X9X2400 규격의 자재명은?
4. 교류 200[V], 정류기 전압강하 10[V]인 단상반파 정류 회로의 저항부하의 직류전압 [V]은?
5. 애자의 형성에 의한 분류로서 내무애자(耐霧碍子)란?
6. 그림은 ㄱ형완철에서의 현수애자를 설치하는 순서이다. 바르게 된 것은?
7. 실리콘 고무의 절연내력[KV/mm]은 약 얼마인가?
8. 발열체의 구비조건중 잘못된 것은?
9. 전기 분해시 전기량이 같을 때 전극에 석출되는 물질의 양은 어느 것에 비례하는가?
10. 알카리 축전지의 양극에 쓰이는 재료는?
11. 전선관(박강)의 굵기 가운데 공칭값[mm]이 아닌것은?
12. 3상 유도 전동기를 급속히 정지 또는 감속시킬 경우, 또는 과속을 급히 막을 수 있는 가장 손쉽고 효과적인 제동법은?
13. 전동기에 일그너 장치의 특성과 사용처는?
14. IV는 전선의 종류이다.어떤 절연체의 종류인가?
15. 가공 전차선로에서 보조 조가선을 사용하는 가선방식은?
16. 전주길이가 12[m],근가의 길이가 1.5[m]일때 U-볼트(경x길이)의 표준은?
17. 유전가열의 특징을 나타낸 것중 옳지 않은 것은?
18. 방전발광(루미네선스)에서 고압수은램프에 속하지 않는 것은?
19. 루소 선도가 그림과 같은 광원의 배경 곡선의 식을 구하시오.


20. 트랜지스터의 기호에서 에미터의 화살표방향이 나타내는 것은?
2과목: 전력공학
21. 변전소에 사용되는 축전지의 용량 계산에 고려되지 않는 사항은?
22. 송전선로의 1선 지락고장시, 인접 통신선에 대한 전자 유도장애의 방지대책이 아닌 것은?
23. 변전소, 발전소 등에 설치하는 피뢰기에 대한 설명 중 옳지 않은 것은?
24. 화력발전소에서 재열기로 가열하는 것은?
25. 전압이 다른 송전선로를 루프로 사용하여 조류제어 할 때 필요한 기기는?
26. 각 수용가의 수용설비용량이 50kW, 100kW, 80kW, 60kW, 150kW이며 각각의 수용률이 0.6, 0.6, 0.5, 0.5, 0.4 일 때 부하의 부등률이 1.3 이라면 변압기 용량은 약 몇 kVA 가 필요한가? (단, 평균 부하역률은 80%라고 한다.)
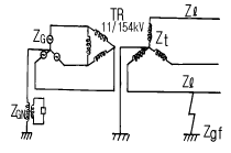
27. 그림과 같은 전력계통의 154kV 송전선로에서 고장 지락임피던스 Zgf를 통해서 1선 지락고장이 발생되었을 때 고장점에서 본 영상 %임피던스는? (단, 그림에 표시한 임피던스는 모두 동일 용량 즉, 100MVA기준으로 환산한 %임피던스임)
28. 각 전력계통을 연락선으로 상호 연결하면 여러가지의 장점이 있다. 옳지 않은 것은?
29. 어느 수용가가 당초에 지상역률 80%로 60kW의 부하를 사용하고 있었는데 새로이 지상역률 60%, 40kW의 부하를 증가해서 사용하게 되었다. 이때 전력용콘덴서로 합성역률을 90%로 개선하려고 한다면 전력용콘덴서의 소요 용량은 약 몇 kVA 가 필요한가?
30. 변압기의 %임피던스가 표준치보다 훨씬 클 때 고려하여야 할 문제점은?
31. 높이가 같고 경간이 200m인 철탑에 38mm2의 경동연선을 가선할 때 이도(dip)는 몇 m 인가? (단, 경동연선의 인장하중은 1400kg, 안전율은 2.2전선 자체의 무게는 0.333kg/m라고 한다.)
32. 수력발전소의 댐을 설계하거나 저수지의 용량 등을 결정 하는데 가장 적당한 것은?
33. 소호리액터 접지방식에서 10%정도의 과보상을 한다고 할 때 사용되는 탭의 크기로 일반적인 것은?




34. 송전계통의 전력용콘덴서와 직렬로 연결하는 직렬리액터로 제거되는 고조파는?
35. 전력회로에 사용되는 차단기의 차단용량을 결정할 때 이용되는 것은?
36. 차단기에서 차단시간을 옳게 설명한 것은?
37. 3상선로에서 회로의 상규선간전압을 Vn[kV], 계통의 전전원의 용량에 상당하는 전류를 In[A], Vn과 In을 기준으로하여 %로 나타낸 %임피던스를 %Zs라 할 때 3상 단락전류를 계산하는 식은?




38. 동일 전압, 동일 부하, 동일 전력손실의 조건에서 단상 2선식의 소요전선 총량을 100 이라 할 때 3상 3선식의 소요 전선 총량은 얼마인가?
39. 단도체 대신 같은 단면적의 복도체를 사용할 때 옳은 것은?
40. 주상변압기의 2차측 접지공사는 어느 것에 의한 보호를 목적으로 하는가?
3과목: 전기기기
41. 단자전압 200[V], 전류 50[A], 15[㎾]를 소비하는 3상 유도전동기의 역률[%]은?
42. 회전 변류기의 직류측 전압을 조정하려는 방법이 아닌 것은?
43. 직류 발전기의 극수 8, 전기자 도체수가 400을 단중 파권으로 하였을 때 매극의 자속수가 0.01[Wb] 이면 600[rpm]로 회전하였을 때의 기전력은 얼마인가?
44. 전압변동률이 작은 동기발전기는?
45. 분권전동기의 설명 중 가장 옳은 것은? (단, 무부하의 경우)
46. 15[KW], 60[Hz], 4극의 3상 유도 전동기가 있다. 전부하가 걸렸을 때의 슬립이 4[%]라면 이때의 2차(회전자)측동손및 2차 입력은?
47. 동기전동기의 용도가 아닌 것은?
48. 어떤 변압기의 전압변동률은 부하역률 100[%]에서 2[%], 부하역률 80[%]에서 3[%]이다. 이 변압기의 최대 전압 변동률[%]은 약 얼마인가?
49. 동기발전기의 돌발단락 전류를 주로 제한하는 것은?
50. 3상 전압조정기의 원리는 어느 것을 응용한 것인가?
51. 다음중 동기발전기의 여자방식이 아닌 것은?
52. 직류기에 있어서 불꽃없는 정류를 얻는데 가장 유효한 방법은?
53. 보호계전기 구성요소의 기본원리에 속하지 않는 것은?
54. 피크 역전압 5000[V]에 견딜수 있는 정류회로 소자를 이용하여 얻어지는 무부하 직류전압 (평균치)는 3상 부리지 정류인때 약 몇[V]인가?
55. 계자 철심에 잔류 자기가 없어도 발전되는 직류기는?
56. 3300[V], 60[Hz]용 변압기의 와류손이 360[W]이다. 이 변압기를 2750[V], 50[Hz]에서 사용할 때 이 변압기의 와류손은 몇 [W]인가?
57. 8극 60[Hz], 500[KW]의 3상 유도 전동기의 전부하 슬립이 2.5[%]라 한다. 이때의 회전수[rps]는?
58. 2방향성 3단자 다이리스터는 어느 것인가?
59. 단권 변압기(Auto transformer)에 대한 말이다.옳지 않은 것은?
60. 그림과 같은 유도전동기가 있다. 고정자의 회전자계가 매초 100회전하고 회전자가 매초 95회전하고 있을 때 회전자의 도체에 유기되는 기전력의 주파수[Hz]는?
4과목: 회로이론 및 제어공학
61.
는?
62.
에서 점근선의 교차점은?

63. 다음중 온도를 전압으로 변환시키는 요소는?
64. 상태방정식
인 제어계의 특성방정식은?
65. 그림과 같은 2단자 회로에서 반공진각주파수 ωr을 구하시오.
66. 2단자 임피던스 함수 Z(s)가 Z(s)=s+3/(s+4)(s+5)일 때의 영점은?
67. 폐루우프 전달함수
인 계에서 대역폭(帶域幅, BW)은 몇 [rad]인가?
68. 연료의 유량과 공기의 유량과의 사이의 비율을 연소에 적합한 것으로 유지하고자 하는 제어는?
69. 다음 안정도 판별법 중 G(s)H(s)의 극점과 영점이 우반평면에 있을 경우 판정불가능한 방법은?
70. 60[Hz], 100[V]의 교류전압이 200[Ω ]의 전구에 인가될때 소비되는 평균전력은 얼마인가?
71. 그림과 같은 구형파의 라플라스 변환은?




72. 수전단 개방시의 무손실 선로에 있어서 입력 임피던스의 절대치를 특성 임피던스와 같게 하려면 선로의 길이를 파장의 몇배로 하면 되는가?
73. 샘플러의 주기를 T라 할때 S-평면상의 모든점은 식 Z=eST에 의하여 Z-평면상에 사상된다. S-평면의 좌반평면상의 모든 점은 Z-평면상 단위원의 어느 부분으로 사상되는가?
74. 기전력 2[V], 내부저항 0.5[Ω]의 전지 9개가 있다. 이것을 3개씩 직렬로 하여 3조 병렬 접속한 것에 부하저항 1.5[Ω]을 접속하면 부하전류[A]는?
75. 2개의 전력계를 사용하여 평형부하의 3상회로에 역률을 측정하고자 한다. 전력계의 지시값이 각각 P1,P2 일때 이회로의 역률은?



76. 저항 R[牆] 3개를 Y로 접속한 회로에 전압 200[V]의 3상 교류전원을 인가시 선전류가 10[A]라면 이 3개의 저항을 △로 접속하고 동일전원을 인가시 선전류는 몇[A]인가?
77. 그림과 같은 회로의 전달함수는? (
: 시정수이다.)


78. 그림의 R-C 직렬회로에서
로 주어질 때 i(t)는?
79. 그림과 같이 이득이 A인 연산 증폭기 회로에서 출력 전압 Vo을 나타낸 것은? (단, V1,V2,V3는 입력 신호전압이다.)




80. 그림과 같은 신호흐름선도에서 C/R를 구하면 ?
5과목: 전기설비기술기준 및 판단기준
81. 폭발성 또는 연소성의 가스가 침입할 우려가 있는 곳에 시설하는 지중함으로서 그 크기가 몇 m3 이상인 것에는 통풍장치 기타 가스를 방산시키기 위한 적당한 장치를 시설하여야 하는가?
82. 금속관공사를 콘크리트에 매설하여 시설하려고 한다. 관의 두께는 몇 ㎜ 이상이어야 하는가?
83. 중량물이 통과하는 장소에 비닐외장케이블을 직접 매설식으로 시설하는 경우, 매설깊이는 최소 몇 m 인가?
84. 사용전압이 몇 V 이상의 중성점 직접 접지식 전로에 접속하는 변압기를 설치하는 곳에는 절연유의 구외 유출 및 지하 침투를 방지하기 위하여 절연유 유출 방지설비를 하여야 하는가?
85. 154000V 특별고압 가공전선로를 시가지에 위험의 우려가 없도록 시설하는 경우, 지지물로 A종 철주를 사용한다면 경간은 최대 몇 m 이하인가?
86. 고압 가공전선로의 가공지선으로 나동복강선을 사용할 경우 지름 몇 ㎜ 이상의 것을 사용하여야 하는가?
87. 흥행장의 저압 전기설비공사로 무대, 무대마루 밑, 오케스트라 박스, 영사실 기타 사람이나 무대 도구가 접촉할 우려가 있는 곳에 시설하는 저압 옥내배선, 전구선 또는 이동전선은 사용전압이 몇 V 미만이어야 하는가?
88. 특별고압 가공전선로의 지지물에 시설하는 통신선 또는 이에 직접 접속하는 가공 통신선의 높이는 철도 또는 궤도를 횡단하는 경우에는 궤조면상 몇 m 이상으로 하여야 하는가?
89. 전로의 중성점 접지의 목적으로 볼 수 없는 것은?
90. 고압 지중케이블로서 직접 매설식에 의하여 콘크리트제기타 견고한 관 또는 트라프에 넣지 않고 부설할 수 있는 케이블은?
91. 22.9kV 배전선로(나전선)와 건조물에 취부된 안테나와의 수평 이격거리는 최소 몇 m 이상이어야 하는가?
92. 가공공동지선에 의한 제2종 접지공사에서 가공공동지선과 대지간의 합성 전기저항치는 몇 m 를 지름으로 하는 지역안마다 규정하는 접지 저항치를 가지는 것으로 하여야 하는가?
93. 220V용 유도전동기의 철대 및 금속제 외함에 적합한 접지 공사는?
94. 발, 변전소에서 차단기에 사용하는 압축공기장치의 공기 압축기는 최고 사용압력의 몇 배의 수압을 계속하여 10분간 가하여 시험한 경우 이상이 없어야 하는가?
95. 전기온돌 등의 전열장치를 시설할 때 발열선을 도로, 주차장 또는 조영물의 조영재에 고정시켜서 시설하는 경우, 발열선에 전기를 공급하는 전로의 대지전압은 몇 V 이하이어야 하는가?
96. 물기가 많고 전개된 장소에서 440V 옥내배선을 할 때 채용할 수 없는 공사의 종류는?
97. 154kV가공전선로를 제1종특별고압보안공사에 의하여 시설 하는 경우 사용 전선은 단면적 몇 ㎜2 의 경동연선 또는이와 동등 이상의 세기 및 굵기의 연선이어야 하는가?
98. 발전소에는 필요한 계측장치를 시설하여야 한다. 다음 중 시설하지 않아도 되는 계측장치는?
99. 사용전압이 35000V이하인 특별고압 가공전선이 건조물과 제2차 접근상태로 시설되는 경우에 특별고압 가공전선로 는 어떤 보안공사를 하여야 하는가?
100. 교류 전차선이 교량의 밑에 시설되는 경우, 교량의 가더 등의 금속제 부분에는 어떤 접지공사를 하여야 하는가?