1과목: 일반기계공학
1. 지름 24mm의 환봉에 인장하중이 작용할 경우 최대 허용인장하중(N)은 약 얼마인가? (단, 환봉의 인장강도는 45N/mm2이고, 안전율은 8이다.)
2. 단조가공에 대한 설명으로 틀린 것은?
3. 바이스, 잭, 프레스 등과 같이 힘을 전달하거나 부품을 이동하는 기구용에 적절 하지 않은 나사는?
4. 다음 중 피복아크 용접에서 언더 컷(Under cut)이 가장 많이 나타나는 용접 조건은?
5. 유압 작동유의 구비조건으로 옳은 것은?
6. 마이크로미터로 측정할 수 없는 것은?
7. 금속을 가열하여 용해시킨 후 주형에 주입해 냉각 응고시켜 목적하는 제품을 만드는 것은?
8. 다음 그림과 같은 타원형 단면을 갖는 봉이 인장하중(P)을 받을 때, 작용하는 인장응력은?




9. 원통 커플링에서 축 지름이 30mm이고, 원통이 축을 누르는 힘이 50N일 때 커플링이 전달할 수 있는 토크(N·mm)는? (단, 접촉부의 마찰계수는 0.2이다.)
10. 두 기어가 맞물려 돌 때 잇수가 너무 적거나 잇수차가 현저히 클 때, 한쪽 기어의 이뿌리를 간섭하여 회전을 방해하는 현상을 방지하기 위한 방법으로 틀린 것은?
11. 유압제어 밸브의 종류에서 압력 제어 밸브가 아닌 것은?
12. 450℃까지의 온도에서 비강도가 높고 내식성이 우수하여 항공기 엔진 주위의 부품재료로 사용되며 비중은 약 4.51인 것은?
13. 마찰부분이 많은 부품에 내마모성과 인성이 풍부한 강을 만들기 위한 열처리 방법에 속하지 않는 것은?
14. 코일 스프링에서 스프링 상수에 대한 설명으로 틀린 것은?
15. 기계재료에서 중금속을 구분하는 기준 은?
16. 구성인선(built-up edge)의 방지책으로 적절한 것은?
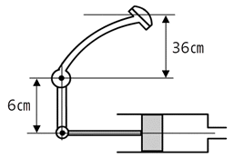
17. 그림과 같이 중앙에 집중 하중을 받고 있는 단순 지지보의 최대 굽힘응력은 몇 kPa인가? (단, 보의 폭은 3㎝이고 높이가 5㎝인 직사각형 단면이다.)
18. 큰 회전력을 얻을 수 있고 양 방향 회전축에 120 각도로 두 쌍을 설치하는 키는?
19. 디퓨저(diffuser)펌프, 벌류트(volute)펌프가 포함되는 펌프 종류는?
20. 비틀림 모멘트를 받는 원형 단면축에 발생되는 최대 전단응력에 관한 설명으로 옳은 것은?
2과목: 기계열역학
21. 다음은 오토(Otto) 사이클의 온도-엔트로피(T-S) 선도이다. 이 사이클의 열효율을 온도를 이용하여 나타낼 때 옳은 것은? (단, 공기의 비열은 일정한 것으로 본다.)




22. 고온열원(T1)과 저온열원(T2) 사이에서 작동하는 역카르노 사이클에 의한 열펌프(heat pump)의 성능계수는?




23. 단열된 노즐에 유체가 10m/s의 속도로 들어와서 200m/s의 속도로 가속되어 나간다. 출구에서의 엔탈피가 2770kJ/㎏일 때 입구에서의 엔탈피는 약 몇 kJ/㎏인가?
24. 냉매가 갖추어야 할 요건으로 틀린 것은?
25. 어떤 물질에서 기체 상수(R)가 0.189kJ/(㎏·K), 임계 온도가 305K, 임계 압력이 7380kPa이다. 이 기체의 압축성 인자(compressibility factor, Z)가 다음과 같은 관계식을 나타낸다고 할 때 이 물질의 20℃, 1000kPa 상태에서의 비체적(v)은 약 몇 m3/㎏인가? (단, P는 압력, T는 절대온도, Pr은 환산압력, Tr은 환산온도를 나타낸다.)
26. 카르노 사이클로 작동하는 열기관이 1000℃의 열원과 300K의 대기 사이에서 작동한다. 이 열기관이 사이클 당 100kJ의 일을 할 경우 사이클 당 1000℃의 열원으로부터 받은 열량은 약 몇 kJ인가?
27. 이상기체로 작동하는 어떤 기관의 압축비가 17이다. 압축 전의 압력 및 온도는 112kPa, 25℃이고 압축 후의 압력은 4350kPa이었다. 압축 후의 온도는 약 몇 ℃인가?
28. 다음 중 스테판-볼츠만의 법칙과 관련이 있는 열전달은?
29. 클라우지우스(Clausius)의 부등식을 옳게 나타낸 것은? (단, T는 절대온도, Q는 시스템으로 공급된 전체 열량을 나타낸다.)




30. 전류 25A 전압 13V를 가하여 축전지를 충전하고 있다. 충전하는 동안 축전지로 부터 15W의 열손실이 있다. 축전지의 내부에너지 변화율은 약 몇 W인가?
31. 이상적인 랭킨사이클에서 터빈 입구 온도가 350℃이고, 75kPa과 3MPa의 압력 범위에서 작동한다. 펌프 입구와 출구, 터빈 입구와 출구에서 엔탈피는 각각 384.4kJ/㎏, 387.5kJ/㎏, 3116kJ/㎏, 2403kJ/㎏이다. 펌프일을 고려한 사이클의 열효율과 펌프일을 무시한 사이클의 열효율 차이는 약 몇 %인가?
32. 압력이 0.2MPa, 온도가 20℃의 공기를 압력이 2MPa로 될 때까지 가역단열 압축했을 때 온도는 약 몇 ℃인가? (단, 공기는 비열비가 1.4인 이상기체로 간주 한다.)
33. 압력(P)-부피(V) 선도에서 이상기체가 그림과 같은 사이클로 작동한다고 할 때 한 사이클 동안 행한 일은 어떻게 나타내는가?




34. 어떤 습증기의 엔트로피가 6.78kJ/(㎏·K)라고 할 때 이 습증기의 엔탈피는 약 몇 kJ/㎏인가? (단, 이 기체의 포화액 및 포화증기의 엔탈피와 엔트로피는 다음과 같다.)
35. 이상기체 2㎏이 압력 98kPa, 온도 25℃ 상태에서 체적이 0.5m3였다면 이 이상기체의 기체 상수는 약 몇 J/(㎏·K)인가?
36. 어떤 유체의 밀도가 741㎏/m3이다. 이 유체의 비체적은 약 몇 m3/㎏인가?
37. 기체가 0.3MPa로 일정한 압력 하에 8m3에서 4m3까지 마찰 없이 압축되면서 동시에 500kJ의 열을 외부로 방출하였다면 내부에너지의 변화는 약 몇 kJ인가?
38. 다음 중 강도성 상태량(intensive property)이 아닌 것은?
39. 이상적인 교축과정(throttling process)을 해석하는데 있어서 다음 설명 중 옳지 않은 것은?
40. 100℃의 구리 10㎏을 20℃의 물 2㎏이 들어 있는 단열 용기에 넣었다. 물과 구리 사이의 열전달을 통한 평형 온도는 약 몇 ℃인가? (단, 구리 비열은 0.45kJ/(㎏·k), 물 비열은 4.2kJ/(㎏·k)이다.)
3과목: 자동차기관
41. 기관의 회전수가 5000rpm이고, 회전 토크가 6㎏·m일 때 축 동력(㎾)은 약 얼마인가?
42. 엔진의 분류에서 내연기관이 아닌 것은?
43. 와류실식 디젤엔진 연소실의 장점으로 틀린 것은?
44. 대기환경보전법령상 휘발유 사용 자동차의 배출가스를 검사하는 부하검사방법은? (단, 운행차 정밀검사 방법·기준 및 검사대상 항목을 적용한다.)
45. 소음기(muffler)의 소음저감 방법으로 틀린 것은?
46. 가솔린 엔진의 혼합비와 배기가스 배출 특성의 관계 그래프에서 (가), (나), (다)에 알맞은 유해가스를 순서대로 나타낸 것은?
47. 실린더의 압축 상사점을 판별하는 역할을 하며 주로 홀 센서 방식을 이용하여 실린더의 연료 분사 순서를 결정하는 것은?
48. 전자제어 가솔린엔진에서 운전 중 연료 분사를 중단하는 경우로 가장 적합한 것은?
49. 자동차 연료로써 압축천연가스(CNG)의 장점으로 틀린 것은?
50. 전자제어 가솔린 연료분사장치에서 인젝터 분사량을 결정하는 것은?
51. 엔진 실린더의 마모원인이 아닌 것은?
52. 유압식 밸브 리프터의 특징으로 틀린 것은?
53. 전자제어 가솔린 분사장치에서 산소센서 사용 시 공연비에 대한 피드백 제어의 해제 조건이 아닌 것은?
54. 크랭크 각 센서의 역할에 대한 설명으로 틀린 것은?
55. 전자제어 디젤엔진에서 시동 OFF 시 디젤링 현상을 방지하거나 EGR 작동 시 배기가스를 보다 정밀하게 제어하기 위한 喜입공기 제어장치는?
56. 비열비 1.4의 공기를 동작 유체로 하는 디젤엔진에서 압축비 15, 단절비 2일 때 이론 열효율(%)은?
57. 질소산화물(NOx) 측정 방법으로 옳은 것은?
58. 실제 흡입된 실린더 내의 공기 질량을 이론적으로 喜입 가능한 공기의 질량으로 나눈 것은?
59. 디젤엔진의 노크 발생에 영향을 미치는 주요변수로 짝지어진 것은?
60. VGT(Variable Geometry Turbocharger) 방식의 과급장치에 VGT제어를 위해 ECU에 입력되는 요소가 아닌 것은?
4과목: 자동차새시
61. 지름 40㎝의 조향 훨(Steering wheel)을 100N의 힘으로 회전 시켰을 때 웜기어비가 20:1이라고 하면, 이때 섹터축(sector shaft)에 작용하는 회전토크(N·m)는? (단, 기계효율은 90%이다)
62. 댐퍼클러치 제어와 관련된 센서가 아닌 것은?
63. 자동차 급제동 시 뒷바퀴가 앞바퀴보다 먼저 고착됨으로써 스핀발생으로 인한 사고 유발 문제점을 해소하기 위해 뒷바퀴와 앞바퀴를 동일하게 제어하거나 뒷바퀴가 늦게 고착되도록 제어하는 것은?
64. 고속으로 회전하는 회전체는 그 회전축을 일정하게 유지하려는 성질을 나타내는 효과는?
65. 자동차 검사기준 및 방법에 의한 조향 장치의 검사기준으로 틀린 것은?
66. 페달에 수평방향으로 1400N의 힘을 가하였을 때 피스톤의 면적이 10cm2라 하면 이때 형성되는 유압(N/cm2)은 얼마인가?
67. 수동변속기에서 기어 변속을 할 때 심한 마찰음이 발생하는 원인으로 적절한 것은?
68. 주 제동장치인 풋 브레이크(foot brake)의 빈번한 작동으로 인한 과열을 방지하기 위하여 사용하는 감속제동장치(제 3브레이크)가 아닌 것은?
69. 앞 차축과 조향너클 설치에 따른 조향 장치 분류가 아닌 것은?
70. 토크컨버터의 성능곡선에 사용되는 식으로 옳은 것은?

71. 브레이크 드럼의 일반적인 점검사항이 아닌 것은?
72. 차동기어 구성품 중 직진 시 자전을 하지 않고 공전만 하는 것은?
73. 고속 주행 시 타이어의 노면 접지부에서 하중에 의해 발생된 변형이 접지 이후에도 바로 복원되지 못하고 진동하는 현상은?
74. 타이어 소음의 일종으로 마찰면에서 발생하는 자력 진동이 원인이며 구동, 제동 및 선회하면서 타이어가 미끄러질 때 발생하는 소음은?
75. 전자제어 현가장치(ECS) 중 Active ECS의 효과로 옳은 것은?
76. 차체 자세 제어장치(Vehicle dynamic control system)가 장착된 차량의 제어 종류가 아닌 것은?
77. 앞바퀴에 작용하는 코너링 포스가 커서, 차량의 선회반경이 점점 작아지는 현상은?
78. 하이브리드 자동차 회생 제동시스템에 대한 설명으로 틀린 것은?
79. 전자제어 현가장치에서 선회 주행 시원심력에 의한 차체의 흔들림을 최소로 하여 안전성을 개선하는 제어기능은?
80. 브레이크가 작동할 때 브레이크 페달 행정이 변화되는 원인이 아닌 것은?
5과목: 자동차전기
81. 전기자 전류가 20A일 때 10kgf·m의 토크를 내는 직권 전동기가 있다. 이 전동기의 전기자 전류가 40A일 때의 토크(kgf·m)는?
82. 다음 중 파워 릴레이 어셈블리에 설치되며 인버터의 커패시터를 초기 충전할 때 충전 전류에 의한 고전압 회로를 보호하는 것은?
83. 주행 중 계기판의 충전경고등이 점등될 때 고장원인으로 거리가 가장 먼 것은?
84. 자동차용 교류(AC) 발전기에 대한 설명으로 옳은 것은?
85. 차체 자세제어장치에서 사용되는 센서가 아닌 것은?
86. 보조제동등의 설치기준으로 틀린 것은?
87. 각종 전자제어 주행 안전장치에 사용되는 센서 및 장치로 거리가 가장 먼 것은?
88. 가솔린 엔진용 점화코일에 대한 설명으로 틀린 것은?
89. 전조등 시스템의 오토 레벨링에 대한 설명이 아닌 것은?
90. 기동전동기가 3000rpm일 때 발생한 회전력이 5kgf·m이면 기동전동기의 출력(PS)은 약 얼마인가?
91. 자동차의 앞면에 적색의 등하, 반사기 또는 방향지시등과 혼동하기 쉬운 점멸 하는 등화를 설치할 수 없는 자동차는?
92. 도난 경계 모드 진입에 필요한 조건으로 틀린 것은?
93. 타임차트(Time chart) 에 대한 설명으로 옳게 짝지어진 것은?
94. 오토라이트(auto light)에 대한 설명으로 틀린 것은?
95. 하이브리드 자동차에서 배터리 시스템의 열적, 전기적 기능을 제어 또는 관리하고 배터리 시스템과 다른 차량 제어기와의 사이에서 통신을 제공하는 전자장치는?
96. KS R 0121 에 의한 하이브리드의 동력 전달 구조에 따른 분류가 아닌 것은?
97. KS 규격 연료전지기술에 의한 연료전지의 종류로 틀린 것은?
98. 하이브리드 자동차의 고전압 장치 점검 시 주의 사항으로 틀린 것은?
99. 전자제어 엔진의 점화제어장치와 관련된 구성품이 아닌 것은?
100. 자동차 라디오 잡음에 대한 감소 대책으로 틀린 것은?
최대 허용 인장하중 = (인장강도 × 단면적) / 안전율
여기서 단면적은 환봉의 단면적인 πr2 이므로,
최대 허용 인장하중 = (45 × π × 122) / 8
= 2544 (단위: N)
따라서 정답은 "2544"이다.