1과목: 과목 구분 없음
1. 설계기준압축강도가 40MPa이고, 현장에서 배합강도 결정을 위한 연속된 시험횟수가 30회 이상인 콘크리트 배합강도는? (단, 표준공시체의 압축강도 표준편차는 5MPa이고, 콘크리트 구조기준(2012)을 적용한다.)
2. 다음 그림과 같은 큰 처짐에 의하여 손상되기 쉬운 칸막이벽이나 기타 구조물을 지지 또는 부착하지 않은 연속부재에서, 처짐을 계산하지 않는 경우의 l방향 슬래브의 최소 두께는? (단, 보통중량 콘크리트를 사용하고, 슬래브의 두께는 일정하며, fy=400MPa, 콘크리트 구조기준(2012)을 적용한다.)
3. 600mm2의 PSC 강선을 단면 도심축에 배치한 단면 200mm×300mm인 프리텐션 PSC 부재가 있다. 초기 프리스트레스가 1,000MPa일 때 콘크리트의 탄성변형에 의한 프리스트레스 감소량은? (단, 철근과 콘크리트의 탄성계수비
, 긴장재의 단면적은 무시하고, 부재의 총단면적을 사용한다.)
4. 다음 그림과 같은 중력식 옹벽에서 전도에 대한 안전율과 활동에 대한 안전율은? (단, 옹벽의 무게 W 및 수평력 H는 단위폭당 값이고, 옹벽의 뒷판 마찰은 무시하며, 옹벽의 저판 콘크리트와 흙 사이의 마찰계수는 0.4이다.)
5. 콘크리트 구조기준(2012)에서 규정된 슬래브에 대한 설명 중 옳은 것을 모두 고르면?
6. 다음 그림과 같은 단철근 직사각형 철근콘크리트보(축력이 없는 띠철근 휨부재)에 대한 설계휨강도 Md를 계산할 때, 강도감소계수 ø의 값은?(단, fck=27MPa, fy=400MPa, 콘크리트 구조기준(2012)을 적용한다.)
7. 콘크리트 구조기준(2012)에서 규정된 인장지배단면에 대하여 c/dt의 최댓값은? (단, 압축연단에서 중립축까지 거리는 c, 최외단 인장철근의 깊이는 dt, fy=400이다.)
8. 다음 그림과 같은 PSC 부재의 등가하중으로 옳은 것은?




9. 다음 그림과 같은 경간이 7.2m인 연속 대칭 T형보에서 플랜지 유효폭은? (단, 콘크리트 구조기준(2012)을 적용한다.)
10. 다음 그림과 같은 직사각형 무근 콘크리트보를 사용하여 3등분점 하중법(third-point loading)에 의해서 보가 파괴될 때까지 하중을 작용시켜서 휨 강도를 측정할 때, 바닥에서의 최대 인장응력에 해당되는 파괴계수 fr은?
11. 다음 그림은 지속하중을 받는 복철근보의 단면이다. 이 보의 장기처짐을 구하고자 할 때 지속하중재하기간이 7년이라면 장기처짐계수 λ는? (단, As=2,400mm2, As'=1,200mm2, 콘크리트 구조기준(2012)을 적용한다.)
12. 도로교 설계기준(2012)에 규정된 용접연결에 대한 설명 중 가장 옳지 않은 것은?
13. 다음 그림과 같은 철근콘크리트 부재에 축방향 하중 P가 작용하여 콘크리트가 받는 응력이 10MPa이다. 이때 작용하는 축방향 하중 P는? (단, 축방향 철근의 단면적 Ast=2,000mm2, 철근과 콘크리트의 탄성계수비
, 부재는 탄성범위 이내에서 거동한다.)
14. 콘크리트 구조기준(2012)에서 규정된 철근콘크리트 부재의 처짐에 대한 설명 중 가장 옳지 않은 것은?
15. 다음 그림은 균형철근비를 가진 복철근보의 단면이다. 정모멘트 작용에 의한 휨 극한 상태에 도달했을 때 압축철근의 변형률은? (단, fy=400MPa, b=300mm, d=500mm, d'=60mm이다.)
16. 다음 그림과 같은 자중을 포함한 계수등분포하중 wu을 받고 있는 단철근 직사각형 철근콘크리트 단순보에서, 지점 A로부터 최소전단철근을 포함한 전단철근이 배근되는 점까지의 거리 x는? (단, 보통중량 콘크리트를 사용하고, fck=36MPa, 단면의 폭 b=400mm, 유효깊이 d=400mm이다.)
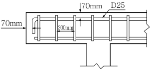
17. 다음 그림과 같은 캔틸레버보에서 도막되지 않은 D25(db=25mm) 철근이 90 표준갈고리로 종결되었을 때, 소요 정착길이와 가장 가까운 값은? (단, D10 폐쇄스터럽이 갈고리 길이를 따라 배치되어 있고, 갈고리 평면에 수직방향인 측면 피복 두께가 70mm이며, 보통중량 콘크리트를 사용하고, As,소요/As,배근=0.9, fck=25MPa, fy=400MPa, 콘크리트 구조기준(2012)을 적용한다.)
18. 다음 그림과 같은 2방향 직사각형 기초판에서 짧은 변 방향의 전체 철근량이 10,000mm2이라 할 때 집중구간 유효폭 b에 배근되어야할 철근량은?
19. 워커빌리티를 개선하고, 동결융해에 대한 저항성을 높이기 위해서 사용하는 콘크리트 혼화재료는?
20. 다음 그림과 같이 정모멘트에 의한 휨을 받는 철근콘크리트보에서 단면의 상단에서 균열 발생 이전단면(비균열 단면)의 중립축까지의 거리를 x, 균열 발생 후 단면(균열단면)의 중립축까지의 거리를 y라 할 때, x와 y에 대한 식이 모두 바르게 표기된 것은? (단, 철근과 콘크리트의 탄성계수비
이다.)
예상강도 = 설계기준강도 + 1.64 × 표준편차
여기서, 설계기준압축강도는 40MPa이고, 표준편차는 5MPa이므로,
예상강도 = 40MPa + 1.64 × 5MPa = 48.2MPa
하지만, 보기에서 주어진 답안 중에서는 48.2MPa와 가장 가까운 값인 47.65MPa가 정답으로 주어졌다. 이는 계산 과정에서 반올림을 한 결과이다. 따라서, 정답은 "47.65MPa"이다.